Operation CHARM: Car repair manuals for everyone.
Manuals through 2025 now available!

Our trusted friends have launched a new website named LEMON, which has newer manuals. It also contains all the CHARM manuals.

LEMON is the spiritual successor to CHARM, I recommend you try it!

Link: lemon-manuals.la or lemon-manuals.org.ua

(Some people have issue connecting. LEMON is investigating. For now, use Firefox or change your DNS server)

Or, hide this message: temporarily or permanently

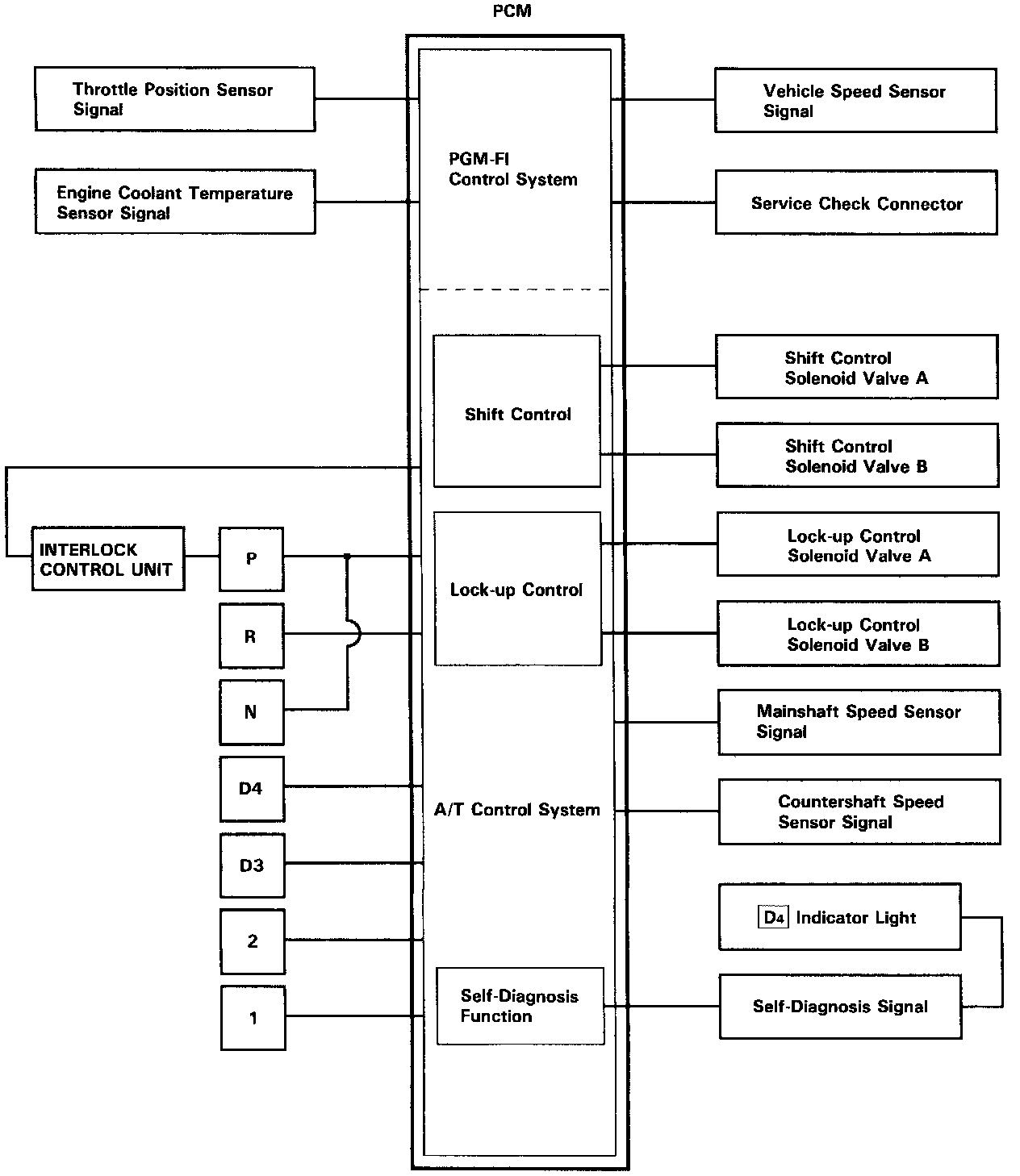
Transmission Control Systems: Description and Operation





The electronic control system consists of the Powertrain Control Module (PCM), sensors, and four solenoid valves. Shifting and lock-up are electronically controlled for comfortable driving under all conditions. The PCM is located below the dashboard, under the front lower panel on the passenger's side.




Shift Control:
The PCM instantaneously determines which gear should be selected by various signals sent from sensors, and actuates the shift control solenoid valves A and B control shifting. Also, a Grade Logic Control System has been adopted to control shifting in [D4] and P positions while the vehicle is ascending or descending a slope, or reducing speed.




Lock-up Control:
From sensor input signals, the PCM determines whether to turn the lock-up ON or OFF and activates lock-up control solenoid valve A and/or B accordingly. The combination of driving signals to lock-up control solenoid valves A and B is shown in the table below.




Grade Logic Control System:
How it works:
The PCM compares actual driving conditions with driving conditions memorized in the PCM, based on the input from the vehicle speed sensor, the throttle position sensor, the engine coolant temperature sensor, the barometric pressure sensor, the brake switch signal and the shift lever position signal, to control shifting while a vehicle is ascending or descending a slope, or reducing speed.




Ascending Control:
When the PCM determines that the vehicle is climbing a hill in [D4] and [D3] positions, the system extends the engagement area of 2nd gear and 3rd gear to prevent the transmission from frequently shifting between 2nd and 3rd gears, and between 3rd and 4th gears, so the vehicle can run smooth and have more power when needed.

NOTE:
- Shift schedules between 2nd and 3rd gears, and between 3rd and 4th gears stored in the PCM enable the PCM's fuzzy logic to automatically select the most suitable gear according to the magnitude of a gradient.
- Fuzzy logic is a form of artificial intelligence that lets computers respond to changing conditions much like a human mind would.




Descending Control:
When the PCM determines that the vehicle is going down a hill in [D4] and [D3] positions, the shift-up speed from 3rd to 4th gear and from 2nd to 3rd when the throttle is closed becomes faster than the set speed for flat road driving to widen the 3rd gear driving area and 2nd gear driving area. This, in combination with engine braking from the deceleration lock-up, achieves smooth driving when the vehicle is descending. There are three descending modes with different 3rd gear driving areas and 2nd gear driving areas according to the magnitude of a gradient stored in the PCM. When the vehicle is in 4th gear, and you are decelerating on a gradual hill, or when you are applying the brakes on a steep hill, the transmission will downshift to 3rd gear. When you accelerate, the transmission will then return to 4th gear.

Deceleration Control:
When the vehicle goes around a corner, and needs to decelerate first and then accelerate, the PCM sets the data for deceleration control to reduce the number of times the transmission shifts. When the vehicle is decelerating from speeds above 30 mph (48 km/h), the PCM shifts the transmission from 4th to 2nd earlier than normal to cope with upcoming acceleration.