Operation CHARM: Car repair manuals for everyone.
Manuals through 2025 now available!

Our trusted friends have launched a new website named LEMON, which has newer manuals. It also contains all the CHARM manuals.

LEMON is the spiritual successor to CHARM, I recommend you try it!

Link: lemon-manuals.la or lemon-manuals.org.ua

(Some people have issue connecting. LEMON is investigating. For now, use Firefox or change your DNS server)

Or, hide this message: temporarily or permanently

Alternator: Service and Repair

Alternator Replacement

1. Make sure you have the anti-theft code for the radio, then write down the frequencies for the radio's preset buttons.
2. Disconnect the battery negative cable, then disconnect the positive cable.
3. Remove the power steering pump.
4. Disconnect the 4P connector from the alternator.

Alternator Replacement:




5. Remove the terminal nut and BLK wire from the B terminal.

Alternator Replacement:




6. Loosen the through bolt, then loosen the adjustment locknut, and then the adjusting bolt.
7. Remove the belt from the alternator.
8. Remove the adjustment bolt and nut.
9. Remove the through bolt, then remove the alternator.
10. Install in the reverse order of removal.
11. After installing the alternator,
- adjust the alternator belt tension.
- enter the anti-theft code for the radio, then enter the customer's radio station presets.

Alternator Overhaul

Alternator Overhaul:




NOTE: It is not necessary to separate the pulley, drive end housing, and the rotor unless the front bearing needs replacement.

To loosen the pulley locknut, use 10 mm and 22 mm wrenches. If necessary, use an impact wrench.

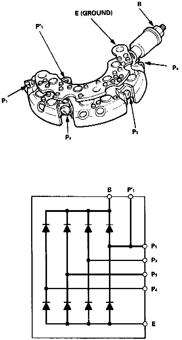
Rectifier Test

NOTE: The diodes are designed to allow current to pass in one direction while blocking it in the opposite direction. Since the alternator rectifier is made up of eight diodes (four pairs), each diode must be tested for continuity in both directions with an ohmmeter that has diode checking capability; a total of 16 checks.

Rectifier Test (Nippondenso Alternator):




1. Check for continuity in each direction, between the B and P, and between the E (ground) and P terminals of each diode pair. All diodes should have continuity in only one direction.
2. If any of the eight diodes fails, replace the rectifier assembly. (Diodes are not available separately.)

Alternator Brush Inspection

1. Remove the end cover, then take out the brush holder by removing its two screws.

Alternator Brush Inspection:




2. Measure the length of the brushes with a vernier caliper.

Alternator Brush Length:
Standard: 10.5 mm (0.41 in)
Service Limit: 1.5 mm (0.06 in)

If the brushes are less than the service limit, replace the alternator brush assembly.

Rotor Slip Ring Test

Rotor Slip Ring Test:




1. Check that there is continuity between the slip rings.
2. Check that there is no continuity between the slip rings and the rotor or rotor shaft.
3. If the rotor fails either continuity check, replace the alternator.

Stator Test

Stator Test:




1. Check that there is continuity between each pair of leads.
2. Check that there is no continuity between each lead and the coil core.
3. If the coil fails either continuity check, replace the alternator.

Alternator Belt Inspection and Adjustment

Alternator Belt Inspection And Adjustment-Deflection Method:




Deflection Method:
Apply a force of 98 N (10 kgf, 22 lbf), and measure the deflection between the alternator and the crankshaft pulley.

Deflection: 8 - 10.5 mm (0.31 - 0.41 in)

NOTE: On a brand-new belt (one that has been run for less than five minutes), the deflection should be 4.5 - 6.5 mm (0.18 - 0.26 in) when first measured. If the belt is worn or damaged, replace it.

If adjustment is necessary:
1. Loosen the through bolt and adjustment locknut.
2. Turn the adjusting bolt to obtain the proper belt tension, then retighten the nut and through bolt.
3. Recheck the belt deflection.

Alternator Belt Inspection And Adjustment-Belt Tension Gauge Method:




Belt Tension Gauge Method:
Following the gauge manufacturer's instructions, attach the belt tension gauge to the belt, and measure the tension.

Tension: 490 - 590 N (50 - 60 kgf, 110 - 132 lbf)

NOTE: On a brand-new belt, (one that has been run for less than five minutes), the tension should be 1030 - 1130 N (105 - 115 kgf, 231 - 254 lbf) when first measured. If the belt is worn or damaged, replace it.

If adjustment is necessary:
1. Loosen the through bolt and adjustment locknut.
2. Turn the adjusting bolt to obtain the proper belt tension, then retighten the nut and through bolt.
3. Recheck the tension of the belt.