Operation CHARM: Car repair manuals for everyone.
Manuals through 2025 now available!

Our trusted friends have launched a new website named LEMON, which has newer manuals. It also contains all the CHARM manuals.

LEMON is the spiritual successor to CHARM, I recommend you try it!

Link: lemon-manuals.la or lemon-manuals.org.ua

(Some people have issue connecting. LEMON is investigating. For now, use Firefox or change your DNS server)

Or, hide this message: temporarily or permanently

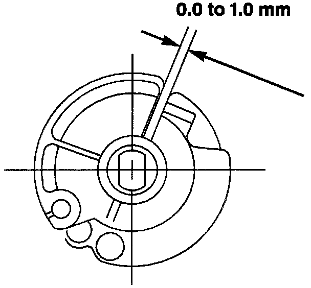
Cruise Control Servo Cable: Service and Repair




Legend
(1) Lever in Unlocked Position
(2) Lever in Locked Position




1. Flip the lever on the cruise control cable adjuster up to the unlocked position.
^ The lever is natural in color to provide a visual aid.

Adjust
2. Adjust the length of the cruise control cable until there is a clearance of 0.0 to 1.0 mm (0.0 to 0.04 inch) between the cruise control cable and accelerator cable throttle lever cams.
3. Flip the lever on the cruise control cable adjuster down to the locked position.