Operation CHARM: Car repair manuals for everyone.
Manuals through 2025 now available!

Our trusted friends have launched a new website named LEMON, which has newer manuals. It also contains all the CHARM manuals.

LEMON is the spiritual successor to CHARM, I recommend you try it!

Link: lemon-manuals.la or lemon-manuals.org.ua

(Some people have issue connecting. LEMON is investigating. For now, use Firefox or change your DNS server)

Or, hide this message: temporarily or permanently

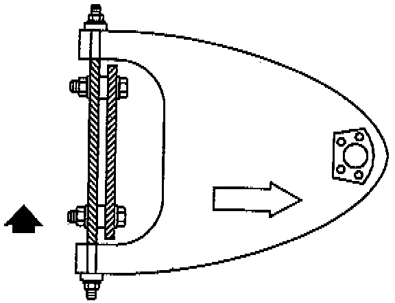
Camber and Caster

CAMBER AND CASTER

NOTE:
^ Before adjusting caster and camber angles, the front bumper should be raised and released twice to allow the vehicle to return to its normal height.

^ Caster and camber adjustments are made by inserting shims between the upper control arm shaft and the frame bracket. Shims may be added, subtracted or transferred to change the readings.

^ To adjust caster and camber, loosen the upper control arm shaft-to-frame nuts, add or remove shims as required, and torque the nuts. Toe-in must be checked after changing caster or camber.







1. To adjust caster, transfer shims from front to rear or rear to front. The transfer of one shim from the rear bolt to the front bolt will decrease positive caster.







2. To adjust camber,change shims at both the front and rear of the shaft. Adding an equal number of shims at both the front and rear of the upper control arm will decrease positive camber. A normal shim pack will leave at least two threads of the bolt exposed beyond the nut. The difference between front and rear shim packs must not exceed 10 mm (0.40 inch). If these requirements cannot be met, check for damaged control arms and related parts. Tighten the nut on the thinner shim pack first. This improves the upper control arm shaft-to-frame clamping force and torque retention.