Operation CHARM: Car repair manuals for everyone.
Manuals through 2025 now available!

Our trusted friends have launched a new website named LEMON, which has newer manuals. It also contains all the CHARM manuals.

LEMON is the spiritual successor to CHARM, I recommend you try it!

Link: lemon-manuals.la or lemon-manuals.org.ua

(Some people have issue connecting. LEMON is investigating. For now, use Firefox or change your DNS server)

Or, hide this message: temporarily or permanently

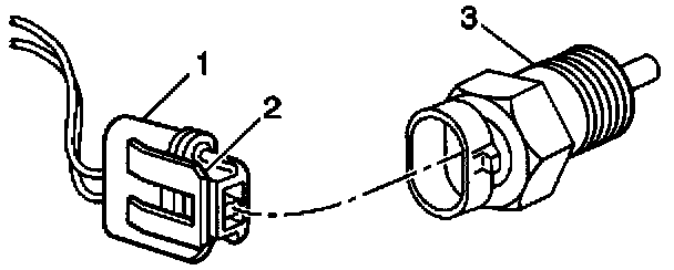
Engine Temperature Sensor: Description and Operation





Engine Coolant Temperature (ECT) Sensor
The Engine Coolant Temperature (ECT) sensor (3) is a thermistor (a resistor which changes value based on temperature) mounted in the engine coolant stream. Low coolant temperature produces a high resistance (100,000 ohms at -40°C/-40°F), while high temperature causes low resistance (70 ohms at 130°C/266°F).
The PCM supplies a 5 volt signal to the ECT sensor through a resistor in the PCM and monitors the terminal voltage. Since this forms a series circuit to ground through the ECT sensor, high sensor resistance (low temperature) will result in high PCM terminal voltage. When the resistance of the ECT sensor is low (high temperature), the terminal voltage will be drawn lower. This terminal voltage indicates engine coolant temperature to the PCM.
A hard fault in the ECT sensor circuit should set either a DTC P0117 or P0118. Remember, these DTCs indicate a malfunction in the engine coolant temperature circuit, so proper use of the DTC table may lead to either repairing a wiring problem or replacing the sensor, to properly repair a problem.