Operation CHARM: Car repair manuals for everyone.
Manuals through 2025 now available!

Our trusted friends have launched a new website named LEMON, which has newer manuals. It also contains all the CHARM manuals.

LEMON is the spiritual successor to CHARM, I recommend you try it!

Link: lemon-manuals.la or lemon-manuals.org.ua

(Some people have issue connecting. LEMON is investigating. For now, use Firefox or change your DNS server)

Or, hide this message: temporarily or permanently

Schematics

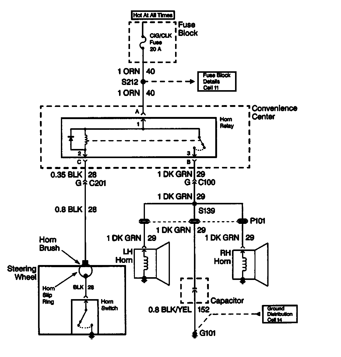
Typical Horn Schematic:




Schematics break the entire electrical system down into individual circuits. Wiring which is not part of the circuit of interest is referenced to another page, where the circuit is shown complete.

Important:
- It is important to realize that no attempt is made on the schematic to represent components and wiring as they physically appear on the vehicle. For example, a 4-foot length of wire is treated no differently in a schematic from one which is only a few inches long.

The number of cavities for each connector is listed in the Component Location List. Similarly, switches and other components are shown as simply as possible, with regard to function only.

When diagnosing a Horn problem, the technician would reference the Horn section. The schematic in Figure is a typical example of what would be found in a Horn system, along with the following text.

Voltage is applied to the Horn Relay at all times. When the relay coil is grounded by closing the Horn Switch, the relay contacts close. When the relay contacts are closed, both the LH and RH Horns are energized.