Operation CHARM: Car repair manuals for everyone.
Manuals through 2025 now available!

Our trusted friends have launched a new website named LEMON, which has newer manuals. It also contains all the CHARM manuals.

LEMON is the spiritual successor to CHARM, I recommend you try it!

Link: lemon-manuals.la or lemon-manuals.org.ua

(Some people have issue connecting. LEMON is investigating. For now, use Firefox or change your DNS server)

Or, hide this message: temporarily or permanently

Air Bag Control Module: Service and Repair


Supplemental Restraint Sensing and Diagnostic Module Replacement

Caution: If any water enters the vehicle's interior up to the level of the carpet or higher and soaks the carpet, the Sensing and Diagnostic Module (SDM) and the SDM harness connector may need to be replaced. The SDM could be activated when powered, which could cause deployment of the air bag(s) and result in personal injury. Before attempting these procedures, the Supplemental Restraint System must be disabled. Refer to Disabling the SRS Air Bag(s) Arming and Disarming. With the ignition OFF inspect the SDM mounting area, including the carpet. If any significant soaking or evidence of significant soaking is detected, you must:
- Remove all water.
- Repair the water damage.
- Replace the SDM harness connector.
- Replace the SDM.

Failure to follow these procedures could result in possible air bag deployment, personal injury, or otherwise unneeded Supplemental Restraint System repairs.

Caution: Be careful when you handle a Sensing and Diagnostic Module (SDM). Do not strike or jolt the SDM. Before applying power to the SDM:
- Remove any dirt, grease, etc. from the mounting surface
- Position the SDM horizontally on the mounting surface.
- Point the arrow on the SDM toward the front of the vehicle
- Tighten all of the SDM fasteners and SDM bracket fasteners to the specified torque value

Failure to follow the correct procedure could cause air bag deployment, personal injury, or unnecessary Supplemental Restraint System repairs.





Removal Procedure
1. Disable the SRS. Refer to Disabling the SRS.
Air Bag(s) Arming and Disarming
2. Remove the drivers seat.
3. Remove driver seat belt from floor. Refer to Seat Belt Replacement in Seat Belts.
4. Remove the carpet retaining sill trim molding - LH.
5. Remove the floor console (if equipped).
6. Fold back the carpet to access the supplemental restraint Sensing and Diagnostic Module (SDM).
7. Remove the Connector Position Assurance (CPA) from the SDM hamess connector.
8. Disconnect the SDM harness connector from the SDM.
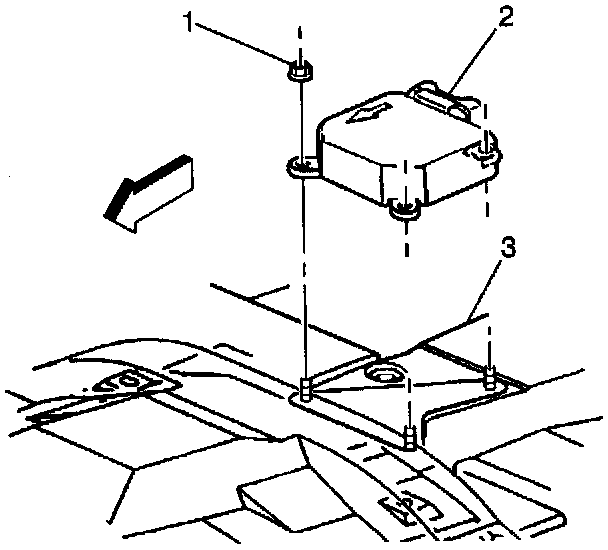
9. Remove the SDM mounting fasteners (1).
10. Remove the SDM (2) from the vehicle. (3).





Installation Procedure
1. Install the SDM (2) to the vehicle (3).
2. Install the SDM mounting fasteners (1). Tighten fasteners to 12 N.m (106 lb in). Refer to Fastener Notice in Cautions and Notices.
[1][2]Fasteners
3. Install the SDM harness connector to the SDM.
4. Install the Connector Position Assurance (CPA) to the SDM harness connector.
5. Position the carpet to cover the supplemental restraint Sensing and Diagnostic Module (SDM).
6. Install the floor console (if equipped).
7. Install the carpet retaining sill trim molding - LH.
8. Install driver seat belt to floor. Refer to Seat Belt Replacement in Seat Belts.
Seat Belt
9. Install the driver seat, Refer to Front Seat Replacement in Seats.
10. Enable the SRS. Refer to Enabling the SRS.
Air Bag(s) Arming and Disarming