Operation CHARM: Car repair manuals for everyone.
Manuals through 2025 now available!

Our trusted friends have launched a new website named LEMON, which has newer manuals. It also contains all the CHARM manuals.

LEMON is the spiritual successor to CHARM, I recommend you try it!

Link: lemon-manuals.la or lemon-manuals.org.ua

(Some people have issue connecting. LEMON is investigating. For now, use Firefox or change your DNS server)

Or, hide this message: temporarily or permanently

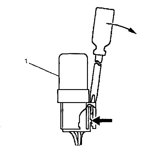
System Relay: Testing and Inspection




1. Disconnect the heater relay (X-6).
- When removing the connector for relay, unfasten the tank lock of the connector by using a screwdriver, then pull the relay (1) out.




2. Check for continuity between the heater relay (X-6) terminals.






Disconnect relays and check for continuity and resistance between relay terminals.