Operation CHARM: Car repair manuals for everyone.
Manuals through 2025 now available!

Our trusted friends have launched a new website named LEMON, which has newer manuals. It also contains all the CHARM manuals.

LEMON is the spiritual successor to CHARM, I recommend you try it!

Link: lemon-manuals.la or lemon-manuals.org.ua

(Some people have issue connecting. LEMON is investigating. For now, use Firefox or change your DNS server)

Or, hide this message: temporarily or permanently

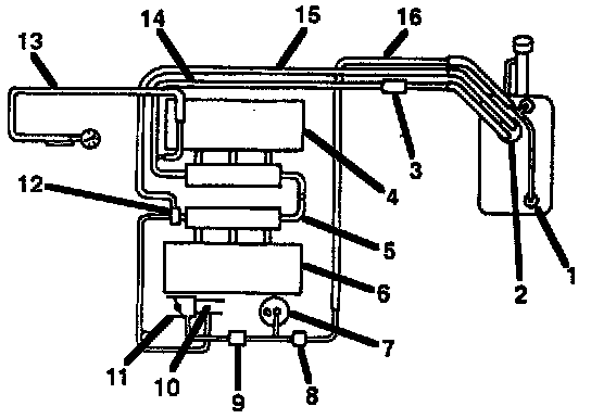
Fuel Pressure: Testing and Inspection

Circuit Description
When the ignition switch is turned "ON", the Powertrain Control Module (PCM) will turn "ON" the in-tank fuel pump. The in-tank fuel pump will remain "ON" as long as the Engine is cranking or running and the PCM is receiving 58X Crankshaft position pulses. If there are no 58X Crankshaft position pulses, the PCM will turn the in-tank fuel pump "OFF" 2 seconds after the ignition switch is turned "ON" or 2 seconds after the Engine stops running.

The in-tank fuel pump is an electric pump within an integral reservoir. The in-tank fuel pump supplies fuel through an in-line Fuel Filter to the fuel rail assembly. The fuel pump is designed to provide fuel at a pressure above the pressure needed by the fuel injectors. A fuel pressure regulator, attached to the fuel rail, keeps the fuel available to the fuel injectors at a regulated pressure. Unused fuel is returned to the fuel tank by a separate fuel return line.




(1) Roll Over and Float Valve
(2) Fuel Pump
(3) Fuel Filter
(4) Right Bank
(5) Fuel Rail
(6) Left Bank
(7) EVAP Canister
(8) Check and Relief Valve
(9) Vacuum Switch
(10) Common Chamber
(11) Throttle Body
(12) Fuel Pressure Regulator
(13) J 34730-1 Fuel Pressure Gauge Assembly
(14) Fuel Feed Line
(15) Fuel Return Line
(16) EVAP Line

Test Description
Number(s) below refer to the step number(s) in the Diagnostic Test:

2. Connect the fuel pressure gauge to the fuel feed line as shown in the fuel system illustration. Wrap a shop towel around the fuel pressure connection in order to absorb any fuel leakage that may occur when installing the fuel pressure gauge. With the ignition switch "ON" and the fuel pump running, the fuel pressure indicated by the fuel pressure gauge should be 333-376 kPa (48-55 psi). This pressure is controlled by the amount of pressure the spring inside the fuel pressure regulator can provide.
3. A fuel system that cannot maintain a constant fuel pressure has a leak in one or more of the following areas:
- The fuel pump check valve.
- The fuel pump flex line.
- The valve or valve seat within the fuel pressure regulator.
- The fuel injector(s).

4. Fuel pressure that drops off during acceleration, cruise, or hard cornering may case a lean condition. A lean condition can cause a loss of power, surging, or misfire. A lean condition can be diagnosed using a Tech 1 Scan Tool. If an extremely lean condition occurs, the oxygen sensor(s) will stop toggling. The oxygen sensor output voltage(s) will drop below 500 mV. Also, the fuel injector pulse width will increase.

NOTE: Make sure the fuel system is not operating in the "Fuel Cut-Off Mode."

When the Engine is at idle, the manifold pressure is low (high vacuum). This low pressure (high vacuum) is applied to the fuel pressure regulator diaphragm. The low pressure (high vacuum) will offset the pressure being applied to the fuel pressure regulator diaphragm by the spring inside the fuel pressure regulator. When this happens, the result is lower fuel pressure. The fuel pressure at idle will vary slightly as the barometric pressure changes, but the fuel pressure at idle should always be less than the fuel pressure noted in step 2 with the Engine "OFF".

16. Check the Spark Plug associated with a particular fuel injector for fouling or saturation in order to determine if that particular fuel injector is leaking. If checking the Spark Plug associated with a particular fuel injector for fouling or saturation does not determine that a particular fuel injector is leaking, use the following procedure:
- Remove the fuel rail, but leave the fuel lines and injectors connected to the fuel rail.
- Lift the fuel rail just enough to leave the fuel injector nozzles in the fuel injector ports.

WARNING: In order to reduce the risk of fire and personal injury that may result from fuel spraying on the Engine, verify that the fuel rail is positioned over the fuel injector ports and verity that the fuel injector retaining clips are intact.

- Pressurize the fuel system by connecting a 10 amp fused jumper between B+ and the fuel pump relay connector.
- Visually and physically inspect the fuel injector nozzles for leaks.

17. A rich condition may result from the fuel pressure being above 376 kPa (55 psi). A rich condition may cause a DTC PO132 or a DTC PO172 to set. Driveability conditions associated with rich conditions can include hard starting (followed by black smoke) and a strong sulfur smell in the exhaust.

20. This test determines if the high fuel pressure is due to a restricted fuel return line or if the high fuel pres sure is due to a faulty fuel pressure regulator.
21. A lean condition may result from fuel pressure below 333 kPa (48 psi). A lean condition may cause a DTC PO131 or a DTC PO171 to set. Driveability conditions associated with lean conditions can include hard starting (when the Engine is cold), hesitation, poor driveability, lack of power, surging, and misfiring.
22. Restricting the fuel return line causes the fuel pres sure to rise above the regulated fuel pressure. Command the fuel pump "ON" with the Scan Tool. The fuel pressure should rise above 376 kPa (55 psi) as the fuel return line becomes partially closed.

NOTE: Do not allow the fuel pressure to exceed 414 kPa (60 psi). Fuel pressure in excess of 414 kPa (60 psi) may damage the fuel pressure regulator.

WARNING: To reduce the risk of fire and personal injury:
- It is necessary to relieve fuel system pressure before connecting a fuel pressure gauge. Refer to Fuel Pressure Relief Procedure.
- A small amount of fuel may be released when disconnecting the fuel lines. Cover fuel line fittings with a shop towel before disconnecting, to catch any fuel that may leak out. Place the towel in an approved container when the disconnect is completed.


Fuel Pressure Relief Procedure
1. Remove the Fuel Cap.
2. Remove the fuel pump relay from the underhood relay center.
3. Start the Engine and allow it to stall.
4. Crank the Engine for an additional 3 seconds.

Fuel Gauge Installation
1. Remove the shoulder fitting cap.
2. Install fuel gauge J 34730-1 to the fuel feed line located on the upper right side of the Engine near the Exhaust Gas Recirculation (EGR) valve.
3. Reinstall the fuel pump relay.

Diagnostic Test
1. Was the "On-Board Diagnostic (OBD) System Check" performed?

[YES] Go to Step 2.
[NO] Go to OBD System Check.

2. a. Turn the ignition "OFF".
b. Turn the air conditioning system "OFF".
c. Relieve fuel system pressure and install the fuel pressure gauge.
d. Turn the ignition "ON."

NOTE: The fuel pump will run for approximately 2 seconds. Use the Scan Tool to command the fuel pump "ON".

e. Observe the fuel pressure indicated by the fuel pressure gauge with the fuel pump running.
f. Is the fuel pressure within the specified limits?

[VALUES] 290 - 376 kPa (42 - 55 psi).

[YES] Go to Step 3.
[NO] Go to Step 17.

3. Does the fuel pressure indicated by the fuel pressure gauge remain constant?

[YES] Go to Step 4.
[NO] Go to Step 12.

NOTE: The fuel pressure will drop when the fuel pump stops running, then it should stabilize and remain constant.

4. a. When the vehicle is at normal operating temperature, turn the ignition "ON" to build fuel pressure and observe the measurement on the gauge.
b. Start the Engine and observe the fuel pressure gauge.
c. Did the reading drop by the amount specified after the Engine was started?

[VALUES] 21 - 105 kPa (3 - 15 psi).

[YES] Go to Step 5.
[NO] Go to Step 9.

5. Is fuel pressure dropping off during acceleration, cruise, or hard cornering?

[YES] Go to Step 6.
[NO] Check for improper fuel.

6. a. Visually and physically inspect the following items for a restriction:
- The in-pipe Fuel Filter.
- The fuel feed line.
b. Was a restriction found?

[YES] Verify repair.
[NO] Go to Step 7.

7. a. Remove the fuel tank and visually and physically inspect the following items:
- The fuel pump strainer for a restriction.
- The fuel line for a leak.
- Verify that the correct fuel pump is in the vehicle.
b. Was a problem found in any of these areas?

[YES] Verify repair.
[NO] Go to Step 8.

8. a. Replace the fuel pump.
b. Is the action complete?

[YES] verify repair.

9. a. Disconnect the vacuum hose from the fuel pressure regulator.
b. With the Engine idling, apply 12-14 inches of vacuum to the fuel pressure regulator.
c. Does the fuel pressure indicated by the fuel pressure gauge drop by the amount specified?

[VALUES] 21 - 105 kPa (3 - 15 psi).

[YES] Go to Step 10.
[NO] Go to Step 11.

10. a. Locate and repair the loss of vacuum to the fuel pressure regulator.
b. Is the action complete?

[YES] Verify repair.

11. a. Replace the fuel pressure regulator.
b. Is the action complete?

[YES] Verify repair.

12. a. Run the fuel pump with the Scan Tool.
b. After pressure has built up, turn off the pump and clamp the supply hose shut with suitable locking pliers.
c. Does the fuel pressure indicated by the fuel pressure gauge remain constant?

[YES] Go to Step 13.
[NO] Go to Step 15.

13. a. Visually inspect the fuel supply line and repair any leaks.
b. Was a problem found?

[YES] Verify repair.
[NO] Go to Step 14.

14. a. Remove the fuel tank and inspect for leaky hose or in-tank fuel line.
b. Was a problem found?

[YES] Verify repair.
[NO] Go to Step 8.

15. a. If the pliers are still clamped to the fuel supply hose, remove the locking pliers.
b. With suitable locking pliers, clamp the fuel return line to prevent fuel from returning to the fuel tank.
c. Run the fuel pump with the Scan Tool.
d. After pressure has built up, remove power to the pump.
e. Does the fuel pressure indicated by the fuel pressure gauge remain constant?

[YES] Go to Step 11.
[NO] Go to Step 16.

16. a. Locate and replace any leaking fuel injector(s).
b. Is the action complete?

[YES] Verify repair.

17. Is the fuel pressure indicated by the fuel pressure gauge above the specified limit?

[VALUES] 376 kPa (55 psi).

[YES] Go to Step 18.
[NO] Go to Step 21.

18. a. Relieve the fuel pressure. Refer to the Fuel Pressure Relief.
b. Disconnect the fuel return line from the fuel rail.
c. Attach a length of flexible hose to the fuel rail return outlet passage.
d. Place the open end of the flexible hose into an approved gasoline container.
e. Run the fuel pump with the Scan Tool.
f. Observe the fuel pressure indicated by the fuel pressure gauge with the fuel pump running.
g. Is the fuel pressure within the specified limits?

[VALUES] 290 - 375 kPa (42 - 55 psi).

[YES] Go to Step 19.
[NO] Go to Step 20.

19. a. Locate and correct the restriction in the fuel return line.
b. Is the action complete?

[YES] Verify repair.

20. a. Visually and physically inspect the fuel rail outlet passages for a restriction.
b. Was a restriction found?

[YES] Verify repair.
[NO] Go to Step 11.

21. Is the fuel pressure indicated by the fuel pressure gauge above the specified value?

[VALUES] 0 kPa (0 psi).

[YES] Go to Step 22.
[NO] Go to Step 23.

22. a. Command the fuel pump "ON" with the Scan Tool.
b. Using suitable pliers which will not damage the fuel hose, gradually apply pressure with the pliers to pinch the flexible fuel return hose closed.
c. Does the fuel pressure indicated by the fuel pressure gauge rise above the first specified value?

[VALUES] 376 kPa (55 psi).

[YES] Go to Step 11.
[NO] Go to Step 7.

CAUTION: Do not let the fuel pressure exceed second specified value.

[VALUES] 414 kPa (60 psi).

23. a. Command the fuel pump "ON" with the Scan Tool.
b. Remove the fuel filler cap and listen for the sound of the fuel pump running.
c. Turn the pump off.
d. Was the fuel pump running?

[YES] Go to Step 7.
[NO] Go to Fuel System Electrical Test.