Operation CHARM: Car repair manuals for everyone.
Manuals through 2025 now available!

Our trusted friends have launched a new website named LEMON, which has newer manuals. It also contains all the CHARM manuals.

LEMON is the spiritual successor to CHARM, I recommend you try it!

Link: lemon-manuals.la or lemon-manuals.org.ua

(Some people have issue connecting. LEMON is investigating. For now, use Firefox or change your DNS server)

Or, hide this message: temporarily or permanently

Inspection and Repair

Repair or replace necessary parts if extreme wear or damage is found during inspection.

Rotor Assembly




1. Check the rotor slip ring surfaces for contamination and roughness. If rough, polish with #500-600 sandpaper.




2. Measure the slip ring diameter, and replace if it exceeds the limit.




3. Check resistance between slip rings, and replace if there is no continuity.




4. Check for continuity between slip ring and rotor core. In case of continuity, replace the rotor assembly.

Stator Coil
1. Measure resistance between respective phases.




2. Measure insulation resistance between stator coil and core with a mega-ohmmeter.
If less than standard, replace the coil.

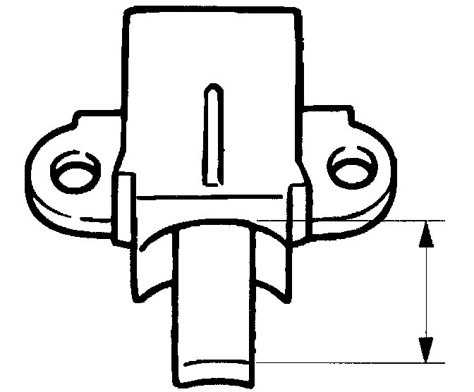
Brush




Measure the brush length.
If more than limit, replace the brush.
Standard: 10.mm (0.4134 in)
Limit: 8.4.mm (0.3307 in)

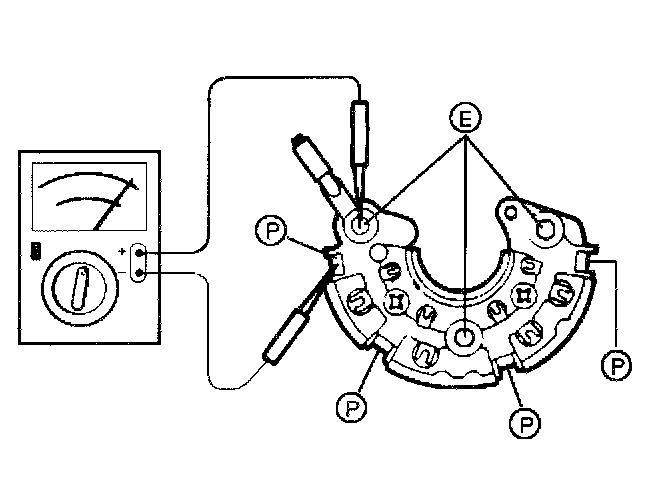
Rectifier Assembly




Check for continuity across "P" and "E" in the x 100 W range of multimeter.
Change polarity, and make sure that there is continuity in one direction, and not in the reverse direction. In case of continuity in both directions, replace the rectifier assembly.

IC Regulator Assembly




Check for continuity across "B" and "F" in the x 100 W range of multimeter.
Change polarity, and make sure that there is continuity in one direction, and not in the reverse direction. In case of continuity in both directions, replace the IC regulator assembly.