Operation CHARM: Car repair manuals for everyone.
Manuals through 2025 now available!

Our trusted friends have launched a new website named LEMON, which has newer manuals. It also contains all the CHARM manuals.

LEMON is the spiritual successor to CHARM, I recommend you try it!

Link: lemon-manuals.la or lemon-manuals.org.ua

(Some people have issue connecting. LEMON is investigating. For now, use Firefox or change your DNS server)

Or, hide this message: temporarily or permanently

Repair and Diagnosis: Description and Operation

The chassis electrical system is a 12-Volt system with a negative ground polarity.

Wire size are appropriate to respective circuits, and classified by color. (The classification of harnesses by color is shown on the circuit diagram for ease of harness identification.)

The wire size is determined by load capacity and the length of wire required.

The vehicle harness are: body harness, chassis harness, engine room harness, instrument harness, transmission harness, engine ECGI harness, dome light harness, door harness, rear body harness, tailgate harness, SRS harness and battery cables.

The harnesses are protected either by tape or corrugated tube, depending on harness location.

The circuit for each system consists of the power source, wire, fuse, relay, switch, load parts and ground, all of which are shown on the circuit diagram.

In this, each electrical device is classified by system.

For major parts shown on the circuit based on the circuit diagram for each system, a summary, diagnosis of troubles and inspection procedures are detailed.

NOTES FOR WORKING ON ELECTRICAL ITEMS




Disconnecting the Battery Cable
1. All switches should be in the "OFF" position.
2. Disconnect the battery ground cable (2).
3. Disconnect the battery positive cable (1).

CAUTION: It is important that the battery ground cable be disconnected first. Disconnecting the battery positive cable first can result in a short circuit.

Connecting the Battery Cable
Follow the disconnecting procedure in the reverse order.

CAUTION: Clean the battery terminal and apply a light coat of grease to prevent terminal corrosion.

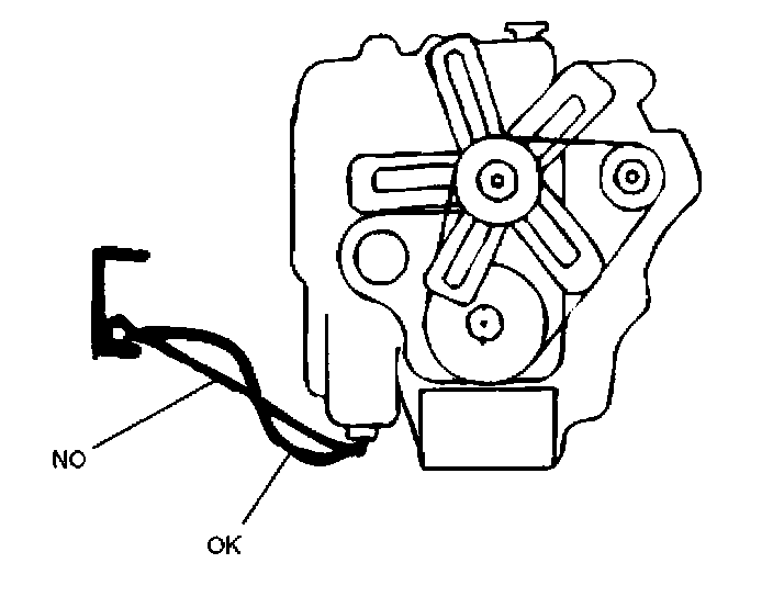
Disconnecting the Connector




Some connectors have a tang lock to hold the connectors together during vehicle operation.
Some tang locks are released by pulling them towards you (1).
Other tang locks are released by pressing them forward (2).
Determine which type of tang lock is on the connector being handled.
Firmly grasp both sides (male and female) of the connector.
Release the tang lock and carefully pull the two halves of the connector apart.




Never pull on the wires to separate the connectors. This will result in wire breakage as shown in the figure.




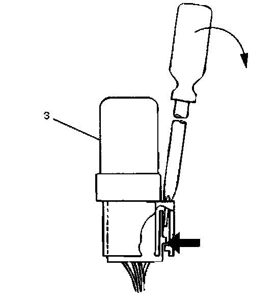
When removing the connector for relay (MR5B type) (3), unfasten the tang lock of the connector by using a screwdriver, then pull the relay out as shown in the figure.




Connecting the Connector
Firmly grasp both sides (male and female) of the connector. Be sure that the connector pins and pin holes match, Be sure that both sides of the connector are aligned with each other.

Firmly but carefully push the two sides of the connector together until a distinct click is heard.

Connector Inspection




Use a circuit tester to check the connector for continuity. Insert the test probes (1) from the connector wire side.




Never insert the circuit tester test probes (2) into the connector open end to test the continuity. Broken or open connector terminals will result.




Waterproof Connector Inspection
It is not possible to insert the test probes (2) into the connector wire side of a waterproof connector.

Use one side of a connector (1) with its wires cut to make the test. Connect the test connector (3) to the connector to be tested. Connect the test probes to the cut wires to check the connector continuity.




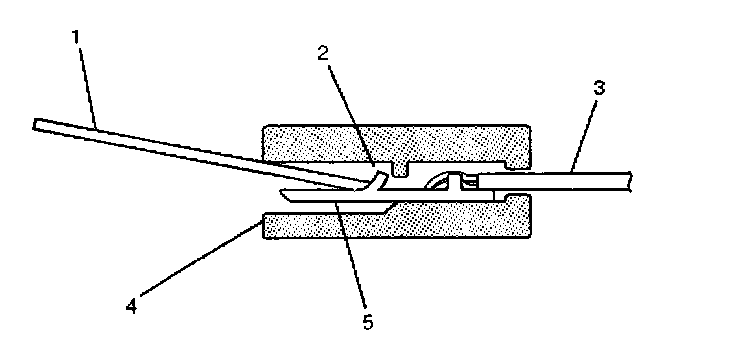
Connector Pin Removal - Connector Housing Tang Lock Type
1. Insert a slender shaft (1) into the connector housing open end (5).
2. Push the tang lock (2) up (in the direction of the arrow in the illustration). Pull the wire (3) with pin (4) free from the wire side of the connector.




Connector Pin Removal - Pin Tang Lock Type
1. Insert a slender shaft (1) into the connector housing open end (5).
2. Push the tang lock (2) flat (toward the wire (3) side of the connector. Pull the wire with pin (4) free from the wire side of the connector.




Connector Pin Insertion
1. Check that the tang lock (1) is fully up.
2. Insert the pin (3) from the connector wire (2) side. Push the pin in until the tang lock closes firmly.
3. Gently pull on the wires to make sure that the connector pin is firmly set in place.




Parts Handling
Be careful when handling electrical parts. They should not be dropped or thrown, because short circuiting or other damage may result.

Cable Harness




1. When installing the parts, be careful not to pinch or wedge the wiring harness.
2. All electrical connections must be kept clean and tight.




3. Use a grommet or guard tube to protect the wiring harness from contacting a sharp edge or surface.




4. Position the wiring harness with enough clearance from the other parts and guard the wiring harness with a vinyl tube (2) and clips (1) to avoid direct contact.




5. The wiring harness between engine and chassis should be long enough to prevent chafing or damage due to various vibrations.

Splicing Wire
^ If the harness is taped, remove the tape. To avoid wire insulation damage, use a sewing "seam ripper" (available from sewing supply stores) to cut open the harness.
If the harness has a black plastic conduit, simply pull out the desired wire.
^ Begin by cutting as little wire off the harness as possible. You may need the extra length of wire later if you decide to cut more wire off to change the location of a splice. You may have to adjust splice locations to make certain that each splice is at least 1-1/2 (40 mm) away from other splices, harness branches, or connectors.
^ When replacing a wire, use a wire of the same size as the original wire.
Check the stripped wire for nicks or cut stands. If the wire is damaged, repeat the procedure on a new section of wire. The two stripped wire ends should be equal in length.
^ Select the proper clip to secure the splice.
To determine the proper clip size for the wire being spliced, follow the directions included with your clips. Select the correct anvil on the crimper. (On most crimpers your choice is limited to either a small or large anvil.)
Overlap the two stripped wire ends and hold them between your thumb and forefinger as shown in the figure.




The center the spline clip (1) under the stripped wires and hold it in place.
^ Open the crimping tool to its full width and rest one handle on a firm flat surface.
^ Center the back of the splice clip on the proper anvil and close the crimping tool to the point where the back of the splice clip touches the wings of the clip.




^ Make sure that the clip and wires are still in the correct position. Then, apply steady pressure until the crimping tool closes as shown in the figure.

Before crimping the ends of the clip (1), be sure that:
^ The wires extend beyond the clip in each direction.
^ No strands of wire are cut loose, and
^ No insulation is caught under the clip.

Crimp the splice again, once on each end.
Does not let the crimping tool (2) extend beyond the edge of the clip or you may damage or nick the wires as shown in the figure.




^ Apply 60/40 resin core solder to the opening in the back of the clip as shown in the figure.




Follow the manufacturer's instructions for the solder equipment you are using.
^ Center and roll the splicing tape.
Follow the manufacturer's instructions for the solder equipment you are using.

^ Center and roll the splicing tape.




The tape should cover the entire splice.
Roll on enough tape to duplicate the thickness of the insulation on the existing wires.
Does not flag the tape. Flagged tape may not provide enough insulation, and the flagged ends will tangle with the other wires in the harness as shown in the figure.




If the wire does not belong in a conduit or other harness covering, tape the wire again. Use a winding motion to cover the first piece of tape as shown in the figure.