Operation CHARM: Car repair manuals for everyone.
Manuals through 2025 now available!

Our trusted friends have launched a new website named LEMON, which has newer manuals. It also contains all the CHARM manuals.

LEMON is the spiritual successor to CHARM, I recommend you try it!

Link: lemon-manuals.la or lemon-manuals.org.ua

(Some people have issue connecting. LEMON is investigating. For now, use Firefox or change your DNS server)

Or, hide this message: temporarily or permanently

Battery: Testing and Inspection

1. Visual Inspection
Inspect the battery for obvious physical damage, such as a cracked or broken case, which would permit electrolyte loss.
Replace the battery if obvious physical damage is discovered during inspection.
Check for any other physical damage and correct it as necessary.

2. Hydrometer Check
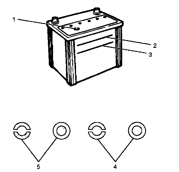
There is a built-in hydrometer (Charge test indicator (1)) at the top of the battery. It is designed to be used during diagnostic procedures.
Before trying to read the hydrometer, carefully clean the upper battery surface.
If your work area is poorly lit, additional light may be necessary to read the hydrometer.




a. BLUE RING OR DOT VISIBLE (5) - Go to Step 4.
b. BLUE RING OR DOT NOT VISIBLE (4) - Go to Step 3.

3. Fluid Level Check
The fluid level should be between the upper level line (2) and lower level line (3) on side of battery.




a. CORRECT FLUID LEVEL - Charge the battery.
b. BELOW LOWER LEVEL - Replace battery.

4 . Voltage Check
1. Put voltmeter test leads to battery terminals.
a. VOLTAGE IS 12.4 V OR ABOVE - Go to Step 5.
b. VOLTAGE IS UNDER 12.4 V - Go to procedure (2) below.
2. Determine fast charge amperage from specification. Fast charge battery for 30 minutes at amperage rate no higher than specified value.
Take voltage and amperage readings after charge.
a. VOLTAGE IS ABOVE 16 V AT BELOW 1/3 OF AMPERAGE RATE - Replace battery.
b. VOLTAGE IS ABOVE 16 V AT ABOVE 1/3 OF AMPERAGE RATE - Drop charging voltage to 15 V and charge for 10 - 15 hours. Then go to Step 5.
c. VOLTAGE IS BETWEEN 12 V AND 16 V - Continue charging at the same rate for an additional 3 - 1/2 hours. Then go to Step 5.
d. VOLTAGE BELOW 12 V - Replace Battery.

5. Load Test
1. Connect a voltmeter and a battery load tester across the battery terminals.
2. Apply 300 ampere load for 15 seconds to remove surface charge from the battery. Remove load.




3. Wait 15 seconds to let battery recover. Then apply specified load from specifications.
Read voltage after 15 seconds, then remove load.
a. VOLTAGE DOES NOT DROP BELOW THE MINIMUM LISTED IN THE TABLE - The battery is good and should be returned to service.
b. VOLTAGE IS LESS THAN MINIMUM LISTED - Replace battery.
The battery temperature must be estimated by feel and by the temperature the battery has been exposed to for the preceding few hours.