Operation CHARM: Car repair manuals for everyone.
Manuals through 2025 now available!

Our trusted friends have launched a new website named LEMON, which has newer manuals. It also contains all the CHARM manuals.

LEMON is the spiritual successor to CHARM, I recommend you try it!

Link: lemon-manuals.la or lemon-manuals.org.ua

(Some people have issue connecting. LEMON is investigating. For now, use Firefox or change your DNS server)

Or, hide this message: temporarily or permanently

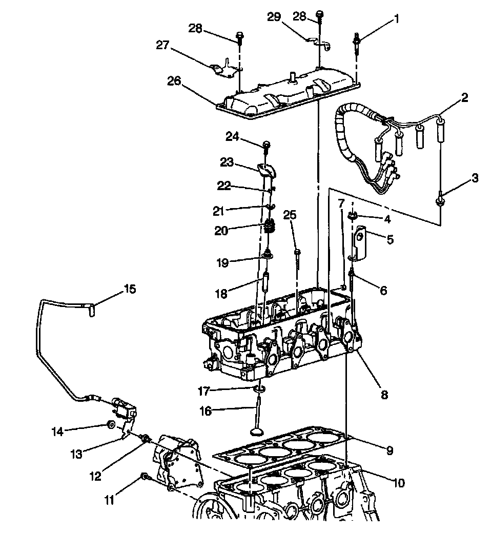
Cylinder Head Assembly




Cylinder Head And Components

Legend
1) Bolt, Valve Rocker Arm Cover
2) Secondary Ignition Harness
3) Spark Plug
4) Nut, Engine Lift Hook
5) Engine Lift Hook
6) Cylinder Head Stud-Ended Bolt
7) Cup Plug
8) Cylinder Head
9) Cylinder Head Gasket
10) Engine Block
11) Bolt, Ignition Coil Bracket
12) Stud, EVAP Purge Solenoid Bracket
13) EVAP Purge Solenoid
14) Nut, EVAP Purge Solenoid
15) EVAP Purge Solenoid Vacuum Harness
16) Valve
17) Valve Seat
18) Valve Guide
19) Valve Stem Seal
20) Valve Spring
21) Valve Spring Retainer
22) Valve Spring Keepers
23) Valve Rocker Arm
24) Bolt, Valve Rocker Arm
25) Bolt, Cylinder Head
26) Valve Rocker Arm Cover
27) Ignition Harness Bracket
28) Bolt, Valve Rocker Arm Cover
29) Fuel Injector Harness Bracket