Cruise Control Servo Cable: Adjustments
1. With a small flat-bladed tool, carefully pry up on the cruise control cable adjuster to the unlocked position.
The toggle lever is natural in color in order to provide a visual aid.
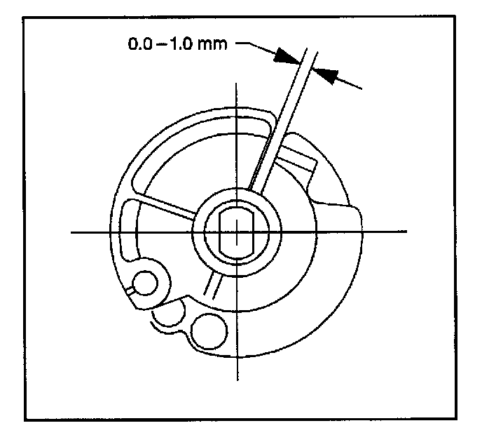
2. Adjust the length of the cruise control cable until there is a clearance of 0.0 -1.0 mm (0.0 -0.04 in) between the cruise control cable and the accelerator cable throttle lever cams.
3. Carefully squeeze the cruise control cable adjuster down to the locked position.