Operation CHARM: Car repair manuals for everyone.
Manuals through 2025 now available!

Our trusted friends have launched a new website named LEMON, which has newer manuals. It also contains all the CHARM manuals.

LEMON is the spiritual successor to CHARM, I recommend you try it!

Link: lemon-manuals.la or lemon-manuals.org.ua

(Some people have issue connecting. LEMON is investigating. For now, use Firefox or change your DNS server)

Or, hide this message: temporarily or permanently

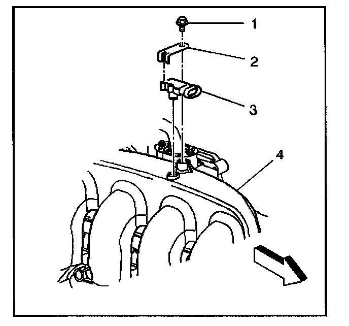
Manifold Pressure/Vacuum Sensor: Service and Repair

REMOVAL




1. Remove the electrical connector.




2. Remove the attaching screw (1).
3. Remove the bracket (2).
4. Remove the MAP sensor (3) from the intake manifold (4)

INSTALLATION




1. Install the MAP sensor(3) into the intake manifold (4).
2. Install the MAP Sensor bracket (2).
3. Install the the attaching screw (1).

Tighten
Tighten the attaching screws to 5 N.m (44 lb in).

NOTE: Refer to Fastener Note in Service Precautions.




4. Install the electrical connector.