Operation CHARM: Car repair manuals for everyone.
Manuals through 2025 now available!

Our trusted friends have launched a new website named LEMON, which has newer manuals. It also contains all the CHARM manuals.

LEMON is the spiritual successor to CHARM, I recommend you try it!

Link: lemon-manuals.la or lemon-manuals.org.ua

(Some people have issue connecting. LEMON is investigating. For now, use Firefox or change your DNS server)

Or, hide this message: temporarily or permanently

Initial Inspection

On-Board Diagnostic (OBD) System Check




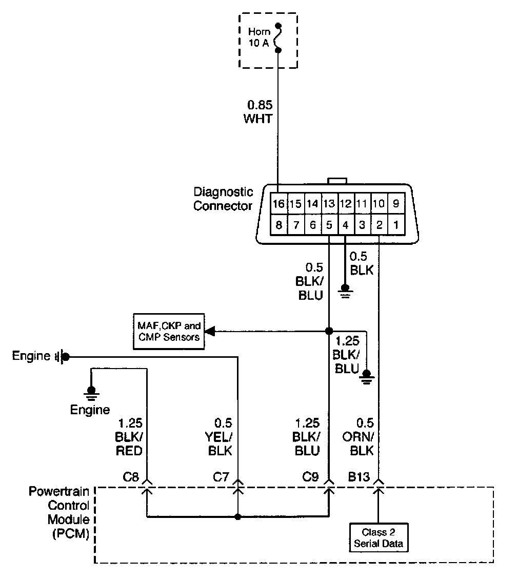
Circuit Description
The on-board diagnostic system check is the starting point for any driveability complaint diagnosis. Before using this procedure, perform a careful visual/physical check of the PCM and engine grounds for cleanliness and tightness. The on-board diagnostic system check is an organized approach to identifying a problem created by an electronic engine control system malfunction.

Diagnostic Aids
An intermittent may be caused by a poor connection, rubbed-through wire insulation or a wire broken inside the insulation. Check for poor connections or a damaged harness. Inspect the PCM harness and connector for improper mating, broken locks, improperly formed or damaged terminals, poor terminal-to-wire connection, and damaged harness.

Steps 1 - 7:




Steps 8 - 10:




Test Description
Number(s) below refer to the step number(s) on the Diagnostic Chart:
1. The MIL (Check Engine lamp) should be ON steady with the ignition ON/engine OFF. If not, the "No MIL" chart should be used to isolate the malfunction.
2. Checks the Class 2 data circuit and ensures that the PCM is able to transmit serial data.
3. This test ensures that the PCM is capable of controlling the MIL (Check Engine lamp) and the MIL (Check Engine lamp) driver circuit is not shorted to ground.
4. If the engine will not start, the Cranks But Will Not Run chart should be used to diagnose the condition.
7. A scan tool parameter which is not within the typical range may help to isolate the area which is causing the problem.
10. This vehicle is equipped with a PCM which utilizes an electrically erasable programmable read only memory (EEPROM). When the PCM is replaced, the new PCM must be programmed. Refer to Engine Control Module / Service and Repair.