Operation CHARM: Car repair manuals for everyone.
Manuals through 2025 now available!

Our trusted friends have launched a new website named LEMON, which has newer manuals. It also contains all the CHARM manuals.

LEMON is the spiritual successor to CHARM, I recommend you try it!

Link: lemon-manuals.la or lemon-manuals.org.ua

(Some people have issue connecting. LEMON is investigating. For now, use Firefox or change your DNS server)

Or, hide this message: temporarily or permanently

Installation

WARNING:
SAFETY PRECAUTIONS MUST BE FOLLOWED WHEN HANDLING A DEPLOYED AIRBAG ASSEMBLY. AFTER DEPLOYMENT, THE AIR BAG ASSEMBLY SURFACE MAY CONTAIN A SMALL AMOUNT OF SODIUM HYDROXIDE, A BY-PRODUCT OF THE DEPLOYMENT REACTION, THAT IS IRRITATING TO THE SKIN AND EYES. MOST OF THE POWER ON THE AIR BAG ASSEMBLY IS HARMLESS. AS A PRECAUTION, WEAR GLOVES AND SAFETY GLASSES WHEN HANDLING A DEPLOYED AIR BAG ASSEMBLY, AND WASH YOUR HANDS WITH MILD SOAP AND WATER AFTERWARDS.

WHEN CARRYING A LIVE AIR BAG ASSEMBLY, MAKE SURE THE BAG AND TRIM COVER ARE POINTED AWAY FROM YOU. NEVER CARRY AIR BAG ASSEMBLY BY THE WIRES OR CONNECTOR ON THE UNDERSIDE OF MODULE. IN THE CASE OF AN ACCIDENTAL DEPLOYMENT; THE BAG WILL THEN DEPLOY WITH MINIMAL CHANCE OF INJURY. WHEN PLACING ALIVE AIR BAG ASSEMBLY ON A BENCH OR OTHER SURFACE, ALWAYS FACE BAG AND RIM COVER UP, AWAY FROM THE SURFACE. NEVER REST A STEERING COLUMN ASSEMBLY ON THE STEERING WHEEL WITH THE AIR BAG ASSEMBLY FACE DOWN AND COLUMN VERTICAL. THIS IS NECESSARY SO THAT A FREE SPACE IS PROVIDED TO ALLOW THE AIR BAG ASSEMBLY TO EXPAND IN THE UNLIKELY EVENT OF ACCIDENTAL DEPLOYMENT. OTHERWISE, PERSONAL INJURY COULD RESULT.


NOTE: In the event deployment has occurred, inspect coil assembly wire for any signs of scorching, melting or any other damage due to excessive heat. If the coil has been damaged, replace it.


Installation






1. Install the steering column assembly and align the setting marks on the universal joint and steering shaft made during removal.
2. Tighten the steering column fixing bolts (dash panel side) to the specified torque.

Torque: 20 N.m (14 lb.ft)

3. Tighten the steering column fixing bolts (Pedal bracket) to the specified torque.

Torque: 20 N.m (14 lb.ft)

4. Tighten the universal joint to the specified torque.

Torque: 31 N.m (23 lb.ft)

5. Install steering lock cylinder assembly.
6. Connect shift lock cable (For A/T)
7. Install cushion rubber.
8. Install snap ring.
9. Install the combination switch assembly with SRS coil.
10. Connect the wiring harness connector located on the base of steering column.
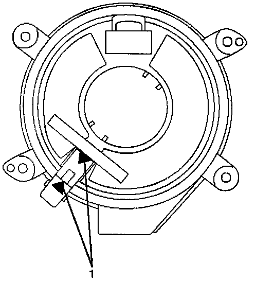
11. Turn the SRS coil counterclockwise to full, return about 3 turns and align the neutral mark (1).






CAUTION: When turning the SRS coil counterclockwise to full, stop turning if resistance is felt. Forced further turning may damage to the cable in the SRS coil.

12. Install steering column cover.






CAUTION: When installing the steering column cover, be sure to wire (through each harness) as illustrated so that the harness starter switch, combination switch and SRS coil may not catch wiring.






13. Install the steering wheel and align the setting marks.
14. Tighten the steering wheel fixing nut to the specified torque.

Torque: 34 N.m (25 lb.ft)

15. Connect horn lead.
16. Connect air bag wiring harness connector.






NOTE: Pass the lead wire through the tabs on the plastic cover (wire protector) of air bag to prevent lead wire from being pinched.

17. Install air bag into steering wheel and tighten bolts to specified sequence as shown in figure.

Torque: 8.8 N.m (78 lb.in)






CAUTION: Never use the air bag assembly from another vehicle and difference model year air bag assembly.

NOTE: The air bag assembly has identification colors on the bar code label as follows. Yellow color for driver air bag assembly. White color for passenger air bag assembly. Use only new air bag assembly proper to the vehicle which is being repaired.

18. Enable the SRS (Refer to "Air Bag(s) Arming and Disarming").