Operation CHARM: Car repair manuals for everyone.
Manuals through 2025 now available!

Our trusted friends have launched a new website named LEMON, which has newer manuals. It also contains all the CHARM manuals.

LEMON is the spiritual successor to CHARM, I recommend you try it!

Link: lemon-manuals.la or lemon-manuals.org.ua

(Some people have issue connecting. LEMON is investigating. For now, use Firefox or change your DNS server)

Or, hide this message: temporarily or permanently

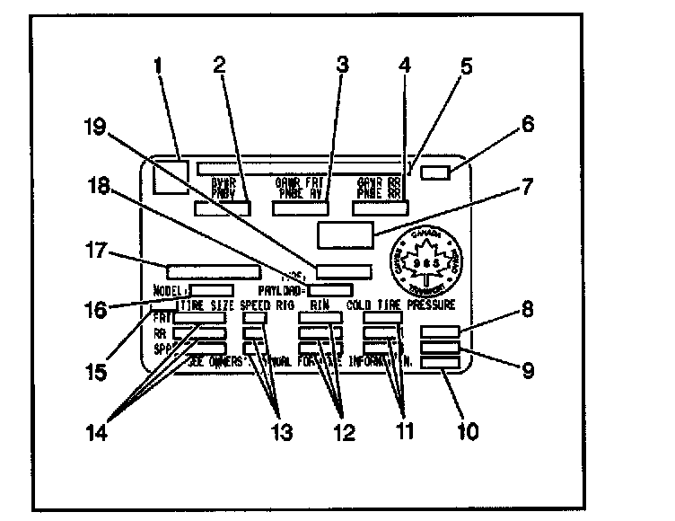
Vehicle Certification Label - Complete




The vehicle certification label displays the following assessments:
- The Gross Vehicle Weight Rating (GVWR)
- The Gross Axle Weight Rating (GAWR) - Front and Rear
- The vehicle's payload rating
- The original equipment tire sizes and the recommended tire pressures

Gross vehicle weight (GVW) is the weight of the vehicle and everything it carries. Include the following items when figuring the GVW:
- The base vehicle weight (factory weight)
- The weight of all vehicle accessories, like the winches or the plows
- The weight of the driver and the passengers
- The weight of the cargo

The gross vehicle weight must not exceed the Gross Vehicle Weight Rating.

The front gross axle weight rating (GAWR FRT) is the weight exerted on the front axle. The rear gross axle weight rating (GAW RR) is the weight exerted on the rear axle. The front and rear gross axle weights must not exceed the front and rear gross axle weight ratings.

The payload rating defines the vehicle's maximum allowable cargo load. The cargo load includes the driver and the passengers. The payload rating is based on the vehicle's factory installed equipment. Deduct from the payload rating the weight of accessories added to the vehicle after the final date of manufacture.

The vehicle may have a Gross Combination Weight Rating (GCWR). The Gross Combination Weight Rating refers to the total maximum weight of the loaded tow vehicle (including driver and passengers) and a loaded trailer.

The vehicle's tires must be the proper size and properly inflated for the load the vehicle is carrying.