Operation CHARM: Car repair manuals for everyone.
Manuals through 2025 now available!

Our trusted friends have launched a new website named LEMON, which has newer manuals. It also contains all the CHARM manuals.

LEMON is the spiritual successor to CHARM, I recommend you try it!

Link: lemon-manuals.la or lemon-manuals.org.ua

(Some people have issue connecting. LEMON is investigating. For now, use Firefox or change your DNS server)

Or, hide this message: temporarily or permanently

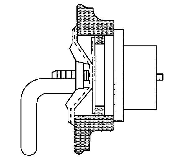
Engine Block Heater: Service and Repair

Removal Procedure
1. Drain the engine coolant.
2. Remove the coolant jacket plug, if not originally equipped with an engine coolant heater, by using the following procedure:
1. Carefully tap the coolant jacket plug near the outer edge. This causes the plug to rotate in the hole. Do not score the machined surface of the hole.
2. Grasp the plug with pliers and pull the plug out.
3. Remove the cord from the engine coolant heater.
4. Loosen the bolt.





5. Remove the engine coolant heater.
6. Clean the core plug hole. Remove any the following conditions:
^ Burrs
^ Compound
^ Paint
^ Rough spots

Installation Procedure
1. Apply a coating of lubricant to the O-ring seal and the cleaned surface of the plug opening in the block. Use a water spray resistant, high-temperature grease lubricant.

Important: Install the heater element. Avoid element contact to the inner walls of the engine block.





2. Install the engine coolant heater and push tight to the block.





3. Tighten the bolt until both locking wings draw tight against the inner wall of the engine block.
Tighten the bolt to 1.9 Nm (17 inch lbs.).

Important: The heater cord must not touch the following components:
^ The engine
^ The hot pipes
^ The manifold
^ Any moving components





4. Install the heater cord to the coolant heater.





5. Route the heater cord.
6. Fill the reservoir with engine coolant.
7. Inspect the system for leaks.