Operation CHARM: Car repair manuals for everyone.
Manuals through 2025 now available!

Our trusted friends have launched a new website named LEMON, which has newer manuals. It also contains all the CHARM manuals.

LEMON is the spiritual successor to CHARM, I recommend you try it!

Link: lemon-manuals.la or lemon-manuals.org.ua

(Some people have issue connecting. LEMON is investigating. For now, use Firefox or change your DNS server)

Or, hide this message: temporarily or permanently

Removal and Installation

Replacing Brake Rotors
When installing new brake rotors, do not refinish the surfaces. These parts are at the correct level of surface finish.

TOOLS REQUIRED
- J-36827 Wrench
- Or Equivalent

NOTE: Before removal, jack up the front of vehicle and support frame with jack stands.





1. Bolt.
2. Bake caliper.
a. Remove the two bolts from the rear side of the knuckle arm, then remove the brake caliper, with the brake hose attached.





b. Use a wire to attach the brake caliper to the upper link.
3. Bolt.
4. Cover.
5. Lock washer.





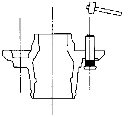
6. Hub nut. Remove hub nut, using front hub nut wrench.
- Wrench: J-36827.





7. Hub and disc assembly. Use a brass bar to remove the outer bearing outer race (1), oil seal, inner bearing and inner bearing outer race (2) from the hub.
8. Outer bearing.
9. Oil seal.
10. Inner bearing.
11. Bolt.
12. Wheel pin. If necessary, replace the wheel pin in the following manner.





a. Scribe. mark on hub to disc before disassembly to insure proper assembly.





b. Clamp hub and disc assembly in vise, using protective pads. Remove six (6) disc-to-hub retaining bolts.





c. Place hub on a suitable work surface and remove wheel studs, as required, using a hammer.

INSPECTION (VISUAL CHECK)
Check the following parts for wear, damage or other abnormal conditions.
- Hub
- Hub bearing
- Bearing outer race
- Disc
- Oil seal