Operation CHARM: Car repair manuals for everyone.
Manuals through 2025 now available!

Our trusted friends have launched a new website named LEMON, which has newer manuals. It also contains all the CHARM manuals.

LEMON is the spiritual successor to CHARM, I recommend you try it!

Link: lemon-manuals.la or lemon-manuals.org.ua

(Some people have issue connecting. LEMON is investigating. For now, use Firefox or change your DNS server)

Or, hide this message: temporarily or permanently

Unit Assembly

REASSEMBLY
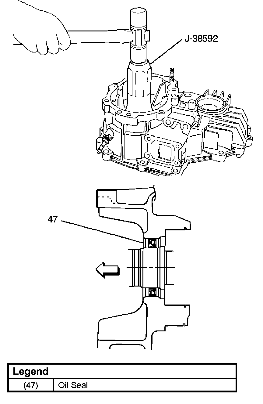
Input Shaft Oil Seal Replacement
1. Remove the oil seal from the transfer case.
2. Apply the engine oil to the oil seal outer surfaces.
3. Apply recommended grease (BESCO L2) or equivalent to the oil seal lip.
4. Use the oil seal installer J-38592 (A/T) J-37488 (M/T) and driver handle J-8092 to install the oil seal to the transfer case.





A/T





M/T

Front Output Shaft Oil Seal Replacement
1. Remove the oil seal from the transfer case.
2. Apply engine oil to the oil seal outer surfaces.
3. Apply recommended grease (BESCO 4-2) or equivalent to the oil seal lip.





4. Use the oil seal installer J-38594 to install the oil seal to the transfer case.
1. Install the transfer case (with oil seal) (42), performing the following steps. (M/T)





- Cover the shaft splines with adhesive tape (43). This will prevent damage to the oil seal lip (44).





- Apply recommended liquid gasket (LOCTITE FMD 127) or its equivalent to the transmission, intermediate plate and transfer case fitting surfaces (M/T).
Install the transfer case together with intermediate plate with gear assembly to transmission case (M/T). Tighten the transfer case bolts to the specified torque a little at a time (M/T).

Torque: 37 Nm (27 ft. lbs.)





2. Apply chassis grease (51) to the sub-gear (40) and the counter gear (41) thrust surfaces.
3. Install sub-gear (40) to counter gear (41).
4. Install Belleville spring (39).
5. Install spacer.
6. Install ball bearing, using a bench press.





7. Select a snap ring that will allow the minimum axial play.

Clearance: 0 - 0.1 mm (0 - 0.004 inch)








8. Use a pair of snap ring pliers to install the snap ring (36) to the counter gear (41).

Sub-Gear (anti-lash plate) Preload





1. Hook a length of piano wire (52) over one of the sub-gear (53) teeth.
2. Attach the other end of the piano wire (52) to a spring balancer.
3. Measure the sub-gear preload.

Preload: 59 - 98 N (13 - 22 lbs.)

9. Install ball bearing (35), using a bench press.
10. Install snap ring (34).
11. Install the counter gear assembly (33) to the transfer case (42).
12. Use a pair of snap ring pliers to install the snap ring (32) to the transfer case (42).

NOTE: The snap ring must be fully inserted into the transfer case snap ring groove.





13. Use a bench press to install the ball bearing (30) to the front output shaft (31).





14. Assemble the 2WD-4WD clutch hub and sleeve assembly (28).





15. Engage the springs in the same insert with the open ends away from each other.





16. Install anew stopper plate (29) and the clutch hub and sleeve assembly (28) to the front output shaft (31).
17. The clutch hub face (with the heavy boss) must be facing the front output gear side.
18. Use a bench press to slowly force the clutch hub and sleeve assembly (28) together with the stopper plate (29) into place.
19. Align the inserts with the block ring insert grooves. Install the block ring (27) to the clutch sleeve and hub assembly (28).





20. Install the outside ring (26), inside ring (25) and needle bearing (24) to the front output gear (23) and bearing collar (18).

NOTE: Coat all parts with transmission oil before installing them.





21. Apply engine oil to the thrust surfaces of the sub-gear, the Belleville spring, and the spacer.

22. Install sub-gear (anti-lash plate) (22), Belleville spring (21) and spacer (20). (M/T)
23. Install sub-gear snap ring (19). (M/T)





24. Use a bench press to install the needle bearing collar together with the front output gear assembly, aligning inside ring claw with block ring groove.
25. Install ball bearing (17), using a bench press.





26. Select a snap ring (16) that will allow the minimum axial play.
Clearance: 0 - 0.1 mm (0 - 0.004 inch)








27. Use a pair of snap ring pliers to install the snap ring (16) to the output shaft (31).

Sub-Gear (Anti-Lash Plate) Preload





1. Hook a length of piano wire (52) over one of the sub-gear (53) teeth.
2. Attach the other end of the piano wire to (52) a spring balancer.
3. Measure the sub-gear preload.

Preload: 59 - 98 N (13 - 22 lbs.)

28. Install front output gear assembly (15) to transfer case (42).
29. Use a pair of snap ring pliers to install the snap ring (14) to the transfer case (42).

NOTE: The snap ring must be fully inserted into the transfer case snap ring groove.





30. Use a bench press to install the ball bearing (12) to the input shaft (13). (A/T)
31. Install plate (11), ball (10) and bearing collar (9).
32. Install needle bearing (8) and input gear (7).





33. The clutch hub face (with the heavy boss) must be facing the transfer input gear side (55).
34. Install high-low clutch hub and sleeve (6), using a bench press.
35. Install input shaft assembly (5) to transfer case (42). (A/T)
36. Install the snap ring (4) to the transfer case (42). (A/T)

NOTE: The snap ring must be fully inserted into the transfer case snap ring groove.





37. Install the front companion flange temporarily and use the flange holder J-8614-11 and lock nut wrench J-37219 to install the lock nut (3).

Torque: 137 Nm (101 Ft. lbs.)

38. Use the punch to stake the lock nut (3) at one spot.





39. Use a suitable drift and hammer to install the ball bearing (2).
40. Install bearing snap ring (1).