Manuals through 2025 now available!
Our trusted friends have launched a new website named LEMON, which has newer manuals. It also contains all the CHARM manuals.
LEMON is the spiritual successor to CHARM, I recommend you try it!
Link:
lemon-manuals.la or
lemon-manuals.org.ua
(Some people have issue connecting. LEMON is investigating. For now, use Firefox or change your DNS server)
Or, hide this message:
temporarily or
permanently
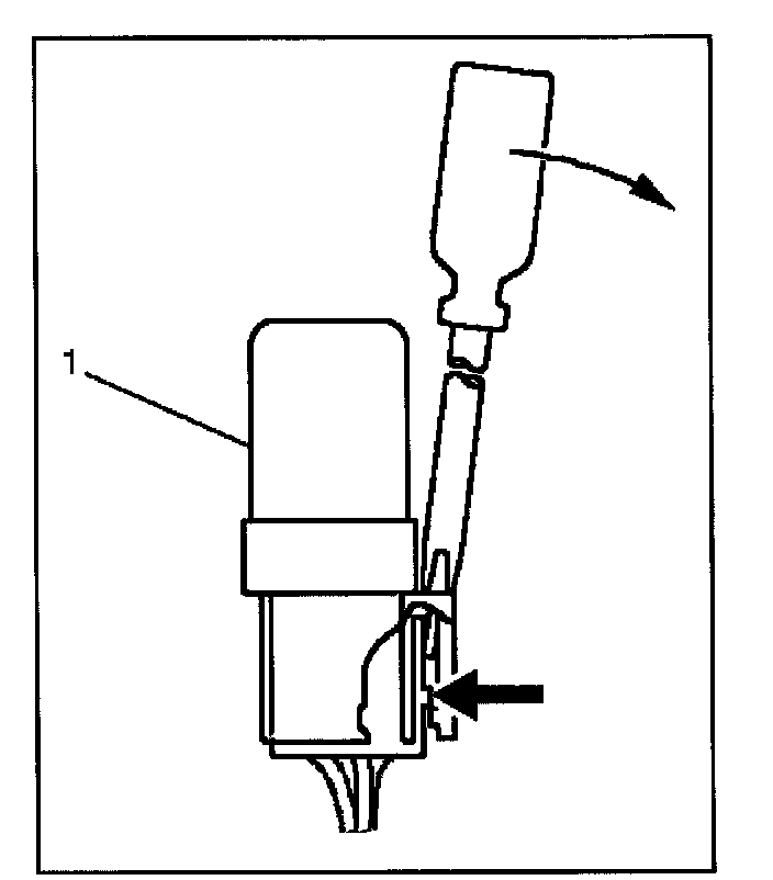
System Relay: Service and Repair
1.
Disconnect the heater and the A/C relay (B-36).
-
When removing the connector for relay, unfasten the tang lock of the connector by using a screwdriver, then pull the relay (1) out.
2.
Check for continuity between the heater and the A/C relay (B-36) terminals.