Operation CHARM: Car repair manuals for everyone.
Manuals through 2025 now available!

Our trusted friends have launched a new website named LEMON, which has newer manuals. It also contains all the CHARM manuals.

LEMON is the spiritual successor to CHARM, I recommend you try it!

Link: lemon-manuals.la or lemon-manuals.org.ua

(Some people have issue connecting. LEMON is investigating. For now, use Firefox or change your DNS server)

Or, hide this message: temporarily or permanently

Windshield: Service and Repair

Windshield


Parts Location:






Removal

1. Disconnect the battery ground cable.
2. Remove windshield wiper.
3. Remove front cowl cover.
4. Remove windshield side moulding.
- Pull the moulding out from the windshield side moulding clip.

5. Remove windshield support.
6. Remove windshield side seal.

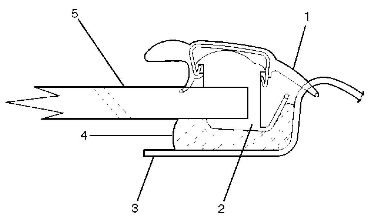
7. Remove windshield (2).
- Use a knife to cut through part of the adhesive caulking material.
- Secure one end of a piece of steel piano wire (1) (0.02 inches in diameter) to a piece of wood that can serve as a handle.







- Use a pair of needle nose pliers to insert the other end of the piano wire through the adhesive caulking material at the edge of the windshield glass.
- Secure the other end of the piano wire to another piece of wood.
- With the aid of an assistant, carefully move the piano wire with a sawing motion to cut through the adhesive caulking material around the entire circumference of the windshield glass.
- Clean the remaining adhesive caulking material from the area of the body which holds the windshield.

8. Remove windshield upper moulding.
- Taking notice of the adhesive tape, and peel the moulding off the windshield upper portion.

9. Remove moulding clip.
10. Remove spacer.

Installation

1. Install the spacer (1).
- Clean the bonding surfaces of both the windshield and the body panel.
- When installing the spacers, align the lower side spacer to the R stop of the body panel and the side spacer to the end of the body panel. Be sure to always use a new spacer.







- Be absolutely sure to apply glass primer and body primer to the body panel as shown in the illustration.







2. Install the moulding clip (2).
- Install new moulding clips to the fixed position of the windshield (3).
- Always use new moulding clips (4).







3. Install the windshield upper moulding (1).
- Peel off the adhesive tape (2) and install the moulding to the fixed position of the windshield (3).
- Always use new upper moulding (1).







4. Install the windshield.







5. Install the windshield side seal.
6. Install the windshield support (2).







- Apply a sealing adhesive (4) to the circumference of the windshield (5).
- Apply the sealing adhesive to the flange portion of the cowl upper rail.
- Adjust the gap clearance of the windshield (5).
- Install the windshield to the body panel by applying pressure to the windshield.
- Cure the adhesive at a temperature of 20-30 °C (68-86 °F) for 24 hours.
- Check that the windshield does not leak water.







7. Install the windshield side moulding.
- Insert the windshield (5) side moulding (1) into the moulding clip (2).







- Take care not to damage the side moulding when you install it.

8. Install the front cowl cover.
9. Install the windshield wiper.