Operation CHARM: Car repair manuals for everyone.
Manuals through 2025 now available!

Our trusted friends have launched a new website named LEMON, which has newer manuals. It also contains all the CHARM manuals.

LEMON is the spiritual successor to CHARM, I recommend you try it!

Link: lemon-manuals.la or lemon-manuals.org.ua

(Some people have issue connecting. LEMON is investigating. For now, use Firefox or change your DNS server)

Or, hide this message: temporarily or permanently

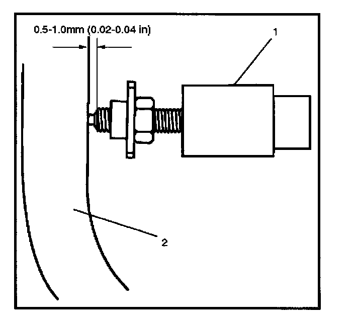
Stoplight Switch (W/O Cruise Control)

REMOVAL
1. Disconnect the battery ground cable.




2. Disconnect the connector (3), loosen the lock nut (1) and then remove the stoplight switch (2) by turning it.

INSTALLATION
To install, follow the removal steps in the reverse order, noting the following points.

1. Check to see if the brake pedal has been returned by the return spring to the specified position.
2. Turn the stoplight switch (1) clockwise until the tip of the threaded portion of the switch contacts the pedal arm (2).




3. Turn the switch counterclockwise until the space between the tip of the threaded portion and the pedal arm is 0.5 to 1.0 mm (0.02 - 0.04 in).