Operation CHARM: Car repair manuals for everyone.
Manuals through 2025 now available!

Our trusted friends have launched a new website named LEMON, which has newer manuals. It also contains all the CHARM manuals.

LEMON is the spiritual successor to CHARM, I recommend you try it!

Link: lemon-manuals.la or lemon-manuals.org.ua

(Some people have issue connecting. LEMON is investigating. For now, use Firefox or change your DNS server)

Or, hide this message: temporarily or permanently

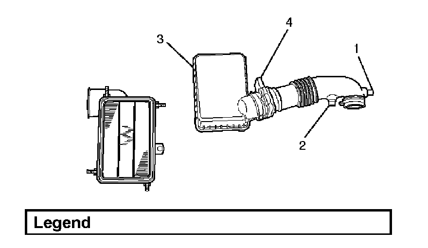
Intake Manifold: Service and Repair



Common Chamber

Removal

1. Disconnect battery ground cable.









2. Remove air cleaner duct assembly.
3. Disconnect vacuum booster hose from common chamber.
4. Disconnect connector from manifold absolute pressure sensor, ion sensing module, throttle position sensor, solenoid valve, electric vacuum sensing valve, and EGR valve.
5. Disconnect vacuum hose on canister VSV and positive crankcase ventilation hose, fuel rail assembly with pressure control valve bracket.
6. Remove ventilation hose from throttle valve and intake duct and remove water hose.
7. Remove the four throttle body fixing bolts.
8. Remove exhaust gas recirculation valve assembly fixing bolt, and nut on common chamber and remove EGR valve assembly.
9. Remove two bolts from common chamber rear side for remove fuel hose bracket.






10. Remove common chamber four bolts and four nuts then remove the common chamber.

Installation

1. Install common chamber and tighten bolts and nuts to the specified torque.
Torque:
Bolt: 25 Nm (18 ft. lbs.)
Nut: 25 Nm (18 ft. lbs.)
2. Install fuel hose bracket and tighten bolts to specified torque.
Torque: 10 Nm (87 inch lbs.)
3. Install exhaust gas recirculation valve assembly and tighten bolt and nut to the specified torque.
Torque: 25 Nm (18 ft. lbs.)
4. Install throttle body and tighten bolts to the specified torque.
Torque: 25 Nm (18 ft. lbs.)
5. Install ventilating hose to throttle valve and intake duct.
6. Connect vacuum hoses on canister VSV and positive crankcase ventilation hose. Tighten bolts for fuel rail assembly with pressure control valve bracket.
Torque: 25 Nm (18 ft. lbs.)
7. Connect each connector.
8. Connect vacuum booster hose.






9. Connect the Ion sensing module connectors as shown in the illustration.






10. Install air cleaner duct assembly.