Operation CHARM: Car repair manuals for everyone.
Manuals through 2025 now available!

Our trusted friends have launched a new website named LEMON, which has newer manuals. It also contains all the CHARM manuals.

LEMON is the spiritual successor to CHARM, I recommend you try it!

Link: lemon-manuals.la or lemon-manuals.org.ua

(Some people have issue connecting. LEMON is investigating. For now, use Firefox or change your DNS server)

Or, hide this message: temporarily or permanently

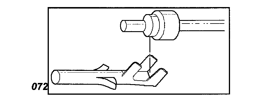
Weather-Pack Connector

TOOLS REQUIRED:
J 28742-A Weather-Pack II Terminal Remover

REMOVAL
A Weather-Pack connector can be identified by a rubber seal at the rear of the connector. This engine room connector protects against moisture and dirt, which could from oxidation and deposits on the terminals. This protection is important, because of the low voltage and the low amperage found in the electronic systems.




Open the secondary lock hinge on the connector.




Use tool J 28742-A or the equivalent to remove the pin and the sleeve terminals. Push on J 28742-A to release.

NOTE: Do the use an ordinary pick or the terminal may be bent or deformed. Unlike standard blade terminals, these terminals cannot be straightened after they have been improperly bent.




Cut the wire immediately behind the cable seal.

INSTALLATION
1. Make certain the connectors are properly seated and all of the sealing rings are in place when you reconnect the leads. The secondary lock hinge provides a backup locking feature for the connector. The secondary lock hinge is used for added reliability. This flap should retain the terminals even if the small terminal lock tangs are not positioned properly.
2. Do not replace the Weather-Pack connections with standard connections. Read the instructions provided with the Weather-Pack connector and terminal packages.
3. Replace the terminal.
4. Slip the new seal onto the wire.
5. Strip 5 mm (0.2") of insulation from the wire.




6. Crimp the terminal over the wire and the seal.




7. Push the terminal and the connector to engage the locking tangs.
8. Close the secondary locking hinge.