Operation CHARM: Car repair manuals for everyone.
Manuals through 2025 now available!

Our trusted friends have launched a new website named LEMON, which has newer manuals. It also contains all the CHARM manuals.

LEMON is the spiritual successor to CHARM, I recommend you try it!

Link: lemon-manuals.la or lemon-manuals.org.ua

(Some people have issue connecting. LEMON is investigating. For now, use Firefox or change your DNS server)

Or, hide this message: temporarily or permanently

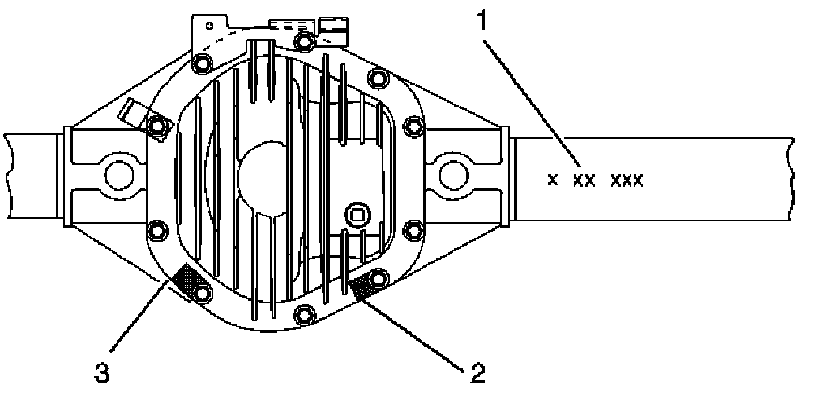
Differential Assembly: Application and ID

Rear Axle Identification





The Bill of Material and build date information (1) is stamped on the right axle tube on the rearward side.
The axle ratio is identified by a tag (3) which is secured by a cover bolt. If the axle has limited-slip differential, it also will be identified with a tag (2) secured by a cover bolt.