Operation CHARM: Car repair manuals for everyone.
Manuals through 2025 now available!

Our trusted friends have launched a new website named LEMON, which has newer manuals. It also contains all the CHARM manuals.

LEMON is the spiritual successor to CHARM, I recommend you try it!

Link: lemon-manuals.la or lemon-manuals.org.ua

(Some people have issue connecting. LEMON is investigating. For now, use Firefox or change your DNS server)

Or, hide this message: temporarily or permanently

Liftgate Window Glass: Service and Repair

Rear Hatchgate (LWB)


Parts Location:






Removal

1. Disconnect the battery ground cable.
2. Disconnect the high mount stoplight and rear defogger harness connectors.
3. Remove the hatchgate ball stud (LH and RH)
- Remove gas stay fixing screw and pull up the gas stay assembly (3) from the ball stud by spreading the retainer (2) holding the ball stud at the end of the gas stay with screwdriver (1), etc.







4. Remove the hatchgate hinge nuts from body side.
5. Remove the hatchgate glass.
- When pulling down the hatchgate glass, exercise special care so as not to damage it.
- Hatchgate glass assembly is heavy and removal operation requires two people.

6. Remove the two screws to remove hatchgate striker and fastener.
7. Remove the outside handle.
8. Remove the hinges.
9. Remove the high mount stoplight.
10. Remove the hatchgate finisher.

Installation

To install, follow the removal steps in the reverse order, noting the following points:

1. Attach the upper seal (1) to the hatchgate glass (2) indicated portion (3) so that the end of the glass contacts the bottom of the upper seal.







2. When installing the hatchgate glass, first attach the hinge to the hatchgate glass. Align the stud of the hinge to the hole at body while supporting the hatchgate glass with two people at indicated positions (1), and then partially tighten the hinge to body nut (2).

After adjustment is completed, fully tighten the nut, hinge to body nut.
- Hatchgate hinge assembly for left and right sides from each other.







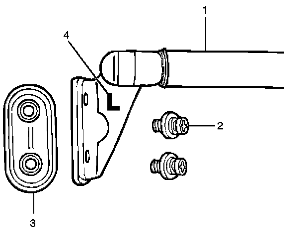
3. When installing gas stay assembly (1), first install the gas stay onto the rear quarter panel with fixing screw (2) and fastener (3) and then attach the gas stay upper end to the ball stud by spreading the retainer with screwdriver, etc. Gas stay assemblies for left and right sides differ from each other (The letter (4) L (LH) or R (RH) is embossed on the gas stay assembly.)







4. When installing hatchgate striker assembly, first partially tighten the fixing screw and close the hatchgate and tailgate. Then fully tighten the fixing screw with the condition that the striker fits the hatchgate lock assembly at the tailgate.

Make sure that clearance exists between hatchgate striker and lock assembly.

After installation, again make sure that the striker fits the lock assembly properly.

5. Tighten the nuts; hinge to body (LH and RH)
Torque: 6 N.m (52 lb in)

6. Tighten the screws; glass and hinge fix (LH and RH)
Torque: 6 N.m (52 lb in)

NOTE: When installing the hinge to the body, exercise special care not to damage the body paint surface.

7. Tighten the hatchgate striker fixing screws.
Torque: 6 N.m (52 lb in)