Operation CHARM: Car repair manuals for everyone.
Manuals through 2025 now available!

Our trusted friends have launched a new website named LEMON, which has newer manuals. It also contains all the CHARM manuals.

LEMON is the spiritual successor to CHARM, I recommend you try it!

Link: lemon-manuals.la or lemon-manuals.org.ua

(Some people have issue connecting. LEMON is investigating. For now, use Firefox or change your DNS server)

Or, hide this message: temporarily or permanently

Engine: Service and Repair

Removal
1. Disconnect battery ground and positive cable.
2. Remove battery.
3. Make alignment mark on the engine hood and hinges before removal in order to return the hood to original position exactly.





4. Remove engine hood.
5. Drain engine coolant from radiator.
6. Disconnect throttle valve control cable from throttle valve on intake manifold.
7. Remove air duct with air cleaner cover.
8. Remove air cleaner assembly.
9. Disconnect three engine harness connectors from chassis harness of left rear side engine compartment.
10. Disconnect vacuum hose on the brake booster.
11. Disconnect cooling fan harness connector on the left of fan shroud.
12. Disconnect ground cable connector from left and right of front wheel arch upper side.
13. Remove clutch piping bracket from right side of clutch housing.
14. Remove fuel piping bracket from transmission.





15. Remove four nuts from exhaust front pipe exhaust manifold side and remove two bolts from rear side of exhaust front pipe. Remove exhaust front pipe.





16. Remove transmission mounting fixing bolts and nut from cross member.
17. Remove transmission front under cover from front portion of clutch housing.
18. Disconnect two fuel pipes at right side of transmission by quick type fuel hose connector.

Caution: Plug fuel pipe on engine side and fuel hose from fuel tank.

19. Disconnect canister hose next to fuel piping connector.
20. Remove propeller shaft fixing bolt from rear side transmission.
21. Remove fixing bolts between clutch housing and transmission, then move transmission.
22. Remove power steering pump assembly then place the power steering pump along with piping.
23. Disconnect two chassis harness connectors from right rear side engine compartment (under fuse box) and remove two harness clips.
24. Remove engine ground cable from chassis frame.
25. Remove radiator lower hose from engine side.
26. Remove two heater hoses from right side panel.
27. Remove radiator grille.
28. Remove harness clip from behind right horn.





1 of 2





2 of 2

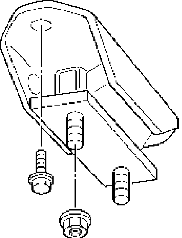
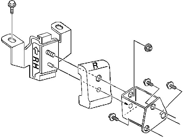
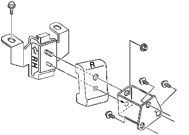
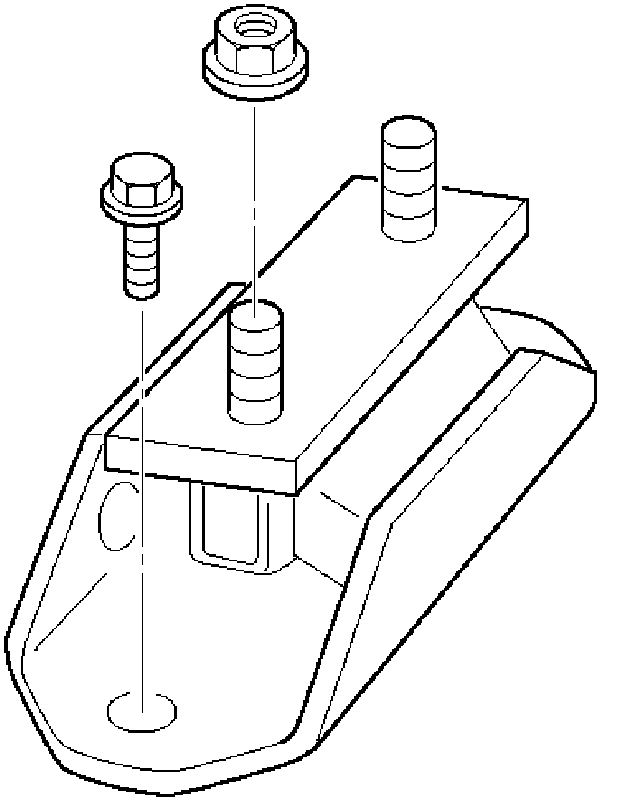
29. Remove engine mounting bolt from chassis frame side.
30. Lift up the engine assembly.

Installation

Caution: When assembling the engine and transmission, confirm that dowels have been mounted in the specified positions at the engine side. If assembled in the condition that dowels have not been mounted in the specified position, transmission damage can result

1. Position the engine assembly in the engine compartment.





1 of 2





2 of 2

2. Tighten engine mounting bolt to frame side to the specified torque.
Torque: 41 Nm (30 ft. lbs.)
3. Install harness clip behind right horn.
4. Install the radiator grille and install flasher lamp assembly.
5. Install two heater hoses to right side panel.
6. Install radiator lower hose to engine.
7. Install engine ground cable to chassis frame.
8. Connect two chassis harness connectors to right rear side engine room (under fuse box) and install two harness clips.
9. Install power steering pump assembly and tighten fixing bolts.
10. Install transmission assembly.
11. Install propeller shaft.
12. Connect canister hose next to fuel piping connector.
13. Connect two fuel pipes at right side transmission by quick type connector.
14. Install transmission front under cover to front portion of clutch housing.





15. Install transmission mounting fixing bolts and nuts to cross member.
Torque: 50 Nm (37 ft. lbs.)





16. Install exhaust front pipe with three way catalytic convertor to exhaust manifold, then tighten fixing nuts to the specified torque.
Torque 28 Nm (21 ft. lbs.)
17. Install fuel piping bracket to transmission.
18. Install clutch piping bracket to right side of clutch housing.
19. Connect ground cable connector to left and right of front wheel arch upper side.
20. Connect cooling fan harness connector on the fan shroud.
21. Connect vacuum hose to the brake booster.
22. Connect three engine harness connectors to chassis harness of left rear side of engine compartment.
23. Install air cleaner assembly.
24. Install air duct with air cleaner cover to specified torque.
Torque
7 Nm (61 inch lbs.) for air duct fixing
3 Nm (36 inch lbs.) for air duct clamp bolt
25. Connect throttle valve control cable to throttle valve on the intake manifold.
Confirm the free play of throttle valve control cable.
Free play: 5.7 to 6.3 mm
26. Install engine hood to original position.
27. Install battery, connect positive cable and ground cable.
28. Fill engine coolant to full level in the coolant reservoir tank.