Exhaust Gas Recirculation (EGR) System Check
Exhaust Gas Recirculation (EGR) System CheckExhaust Gas Recirculation (EGR) System Check:
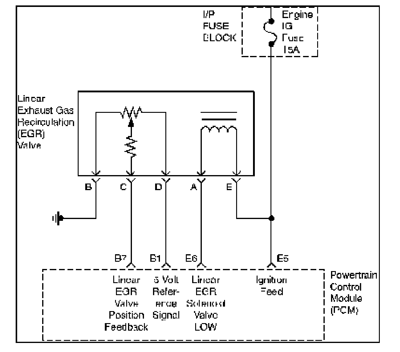
Circuit Description
A properly operating exhaust gas recirculation (EGR) system will directly affect the air/fuel requirements of the engine. Since the exhaust gas introduced into the air/fuel mixture is an inert gas (contains very little or no oxygen), less fuel is required to maintain a correct air/fuel ratio.
Introducing exhaust gas into the combustion chamber lowers combustion temperatures and reduces the formation of oxides of nitrogen (NOx) in the exhaust gas. Lower combustion temperatures also prevent detonation.
If the EGR pintle were to stay closed, the inert exhaust gas would be replaced with air and the air/fuel mixture would be leaner. The powertrain control module (PCM) would compensate for the lean condition by adding fuel, resulting in higher long term fuel trim values.
Step 1 - 3:
Step 4 - 10:
Diagnostic Aids
The EGR valve chart is a check of the EGR system. An EGR pintle constantly in the closed position could cause detonation and high emissions of NOx. It could also result in high long term fuel trim values in the open throttle cell, but not in the closed throttle cell. An EGR pintle constantly in the open position would cause rough idle. Also, an EGR valve mounted incorrectly (rotated 180 °) could cause a rough idle without setting an EGR DTC. Check for the following items:
- EGR passages - Check for restricted or blocked EGR passages.
- Manifold absolute pressure sensor - A manifold absolute pressure sensor may shift in calibration enough to affect fuel delivery. Refer to Manifold Absolute Pressure Output Check.