Operation CHARM: Car repair manuals for everyone.
Manuals through 2025 now available!

Our trusted friends have launched a new website named LEMON, which has newer manuals. It also contains all the CHARM manuals.

LEMON is the spiritual successor to CHARM, I recommend you try it!

Link: lemon-manuals.la or lemon-manuals.org.ua

(Some people have issue connecting. LEMON is investigating. For now, use Firefox or change your DNS server)

Or, hide this message: temporarily or permanently

Ignition Coil: Testing and Inspection

INSPECTION AND REPAIR

Check the ignition coil assembly for insulation. Check terminals for corrosion or damage, and replace as necessary.




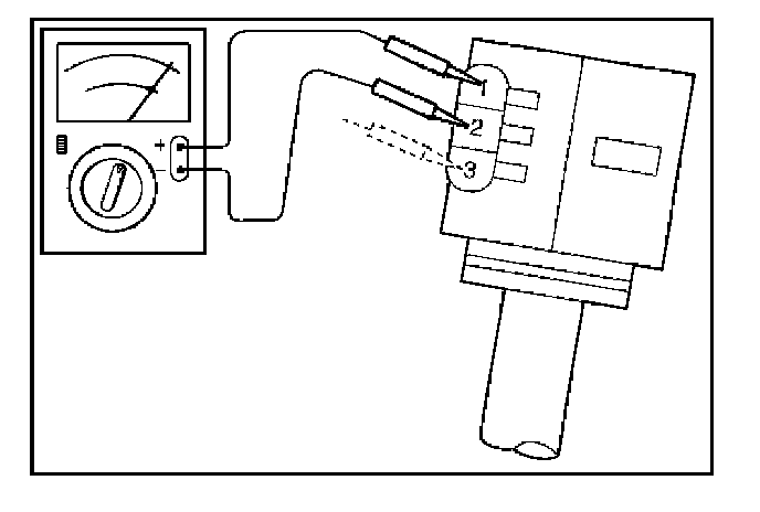
Measuring resistance of ignition coil assembly.




Measure resistance of ignition coil assembly, and replace the ignition coil assembly if its value exceeds the standard.