Operation CHARM: Car repair manuals for everyone.
Manuals through 2025 now available!

Our trusted friends have launched a new website named LEMON, which has newer manuals. It also contains all the CHARM manuals.

LEMON is the spiritual successor to CHARM, I recommend you try it!

Link: lemon-manuals.la or lemon-manuals.org.ua

(Some people have issue connecting. LEMON is investigating. For now, use Firefox or change your DNS server)

Or, hide this message: temporarily or permanently

Crankshaft

INSPECTION AND REPAIR





1. Crankshaft
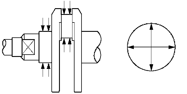
Set the dial indicator as shown in the illustration and measure the crankshaft thrust clearance. If the thrust clearance exceeds the specified limit, replace the thrust bearings as a set.
Thrust Clearance
Standard: 0.06 mm - 0.24 mm (0.0024 inch - 0.0094 inch)
Limit: 0.30 mm (0.0118 inch)

Main Bearing Clearance
1. Remove the bearing caps and measure the oil clearance.





2. Remove the main bearing cap fixing bolts in the sequence shown in the illustration.
Arrange the removed main bearing caps in the cylinder number order.
Remove the main bearings.
3. Remove the crankshaft.
Remove the main bearings.
4. Clean the upper and lower bearings as well as the crankshaft main journal.
5. Check the bearings for damage or excessive wear.
The bearings must be replaced as a set if damage or excessive wear is discovered during inspection.
6. Set the upper bearings and the thrust washers to their original positions.
Carefully install the crankshaft.
7. Set the lower bearings to the bearing cap original position.





8. Apply plastigage to the crankshaft journal unit as shown in the illustration.

Note: Do not set the plastigage on the oil hole.





9. Install main bearing caps, oil gallery and crank case bolts in the order shown, and tighten each bolt to the specified torque.

Note: Do not apply engine oil to the crank case side bolts.

Main bearing cap bolts.
Torque: 39 Nm (29 ft. lbs.)
Oil gallery fixing bolts.
Torque:
1st step: 29 Nm (21 ft. lbs.)
2nd step: 55° - 65°
Crank case side bolts
Torque: 39 Nm (29 ft. lbs.)

Note: Do not allow the crankshaft to rotate.





10. Remove the main bearing caps in the sequence shown in the illustration.





11. Measure the plastigage width and determine the oil clearance. If the oil clearance exceeds the specified limit, replace the main bearings as a set and/or replace the crankshaft.
Standard: 0.019 mm - 0.043 mm (0.0007 inch - 0.0017 inch)
Limit: 0.08 mm (0.0031 inch)
12. Clean the plastigage from the bearings and the crankshaft. Remove the crankshaft and the bearings.

Crankshaft (12) Inspection
Inspect the surface of the crankshaft journal and crank pins for excessive wear and damage. Inspect the oil seal fitting surfaces for excessive wear and damage. Inspect the oil ports for obstructions.





1. Carefully set the crankshaft on the V-blocks. Slowly rotate the crankshaft and measure the runout. If the crankshaft runout exceeds the specified limit, the crankshaft must be replaced.
Runout: 0.04 mm (0.0016 inch)





2. Measure the diameter and the uneven wear of main journal and crank pin. If the crankshaft wear exceeds the specified limit, crankshaft must be replaced.
Main journal diameter: 63.918 mm - 63.933 mm (2.5165 inch - 2.5170 inch)
Crank pin diameter: 53.922 mm - 53.937 mm (2.1229 inch - 2.1235 inch)
Uneven wear limit: 0.005 mm (0.0002 inch)

Crankshaft Bearing Selection
When installing new crankshaft bearings or replacing bearings, refer to the table. Select and install the new crankshaft bearings, paying close attention to the cylinder block journal hole.





1. Diameter size mark (1) and the crankshaft journal.





2. Diameter size mark (1).
The diameter size marks are stamped on the No.1 crankshaft balancer as shown in the illustration.





Note: Take care to ensure the bearings are positioned correctly.