Operation CHARM: Car repair manuals for everyone.
Manuals through 2025 now available!

Our trusted friends have launched a new website named LEMON, which has newer manuals. It also contains all the CHARM manuals.

LEMON is the spiritual successor to CHARM, I recommend you try it!

Link: lemon-manuals.la or lemon-manuals.org.ua

(Some people have issue connecting. LEMON is investigating. For now, use Firefox or change your DNS server)

Or, hide this message: temporarily or permanently

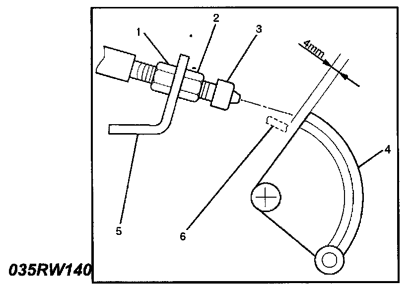
Cruise Control Servo Cable: Adjustments

1. After installing the cruise actuator, the following steps must be carried out for cruise control cable adjustment.
2. Install the cruise control cable end (3) to the throttle link (4).
3. Put the screw portion of the cable in the bracket (5).




4. Put the nut (1) to the bracket and then tighten the nut (2).
- If the distance between the throttle link (4) and the throttle link lever (6) is out of the specified range, loosen the nut (2) to adjust it.