Operation CHARM: Car repair manuals for everyone.
Manuals through 2025 now available!

Our trusted friends have launched a new website named LEMON, which has newer manuals. It also contains all the CHARM manuals.

LEMON is the spiritual successor to CHARM, I recommend you try it!

Link: lemon-manuals.la or lemon-manuals.org.ua

(Some people have issue connecting. LEMON is investigating. For now, use Firefox or change your DNS server)

Or, hide this message: temporarily or permanently

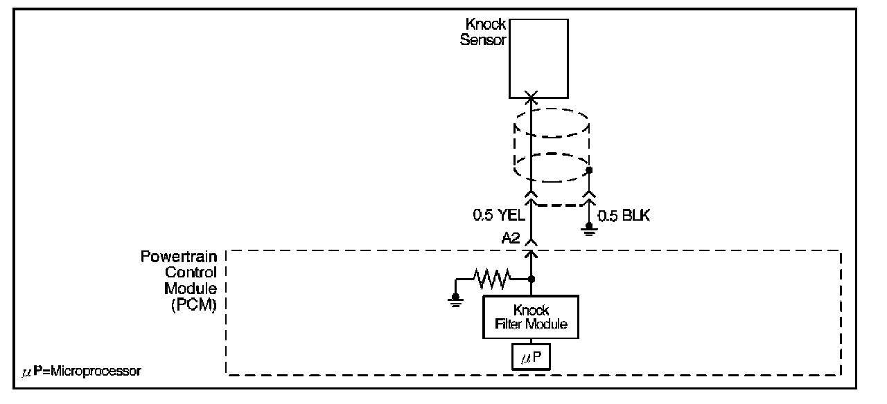
Knock Sensor (KS) System Check


Knock Sensor (KS) System Check (Engine Knock, Poor Performance, or Poor Economy)

Circuit Description




The knock sensor (KS) sends an AC voltage signal to the powertrain control module (PCM). As the KS detects engine knock, the signal to the PCM changes in amplitude and frequency. The PCM retards timing if the engine speed is over 900 RPM.

Diagnostic Aids
If the KS system checks OK, but detonation is the complaint, refer to Detonation/Spark Knock.

Test Description
The numbers below refer to the step numbers on the Diagnostic Chart.
7. The change in signal speed depends on how hard the tapping is done. Normally there is about 1.5 to 10 mV at PCM pin A2 with the engine off. Loud tapping should be able to make the reading jump to 20 - 25 mV AC.

Step 1 - 3:




Step 4 - 8: