Operation CHARM: Car repair manuals for everyone.
Manuals through 2025 now available!

Our trusted friends have launched a new website named LEMON, which has newer manuals. It also contains all the CHARM manuals.

LEMON is the spiritual successor to CHARM, I recommend you try it!

Link: lemon-manuals.la or lemon-manuals.org.ua

(Some people have issue connecting. LEMON is investigating. For now, use Firefox or change your DNS server)

Or, hide this message: temporarily or permanently

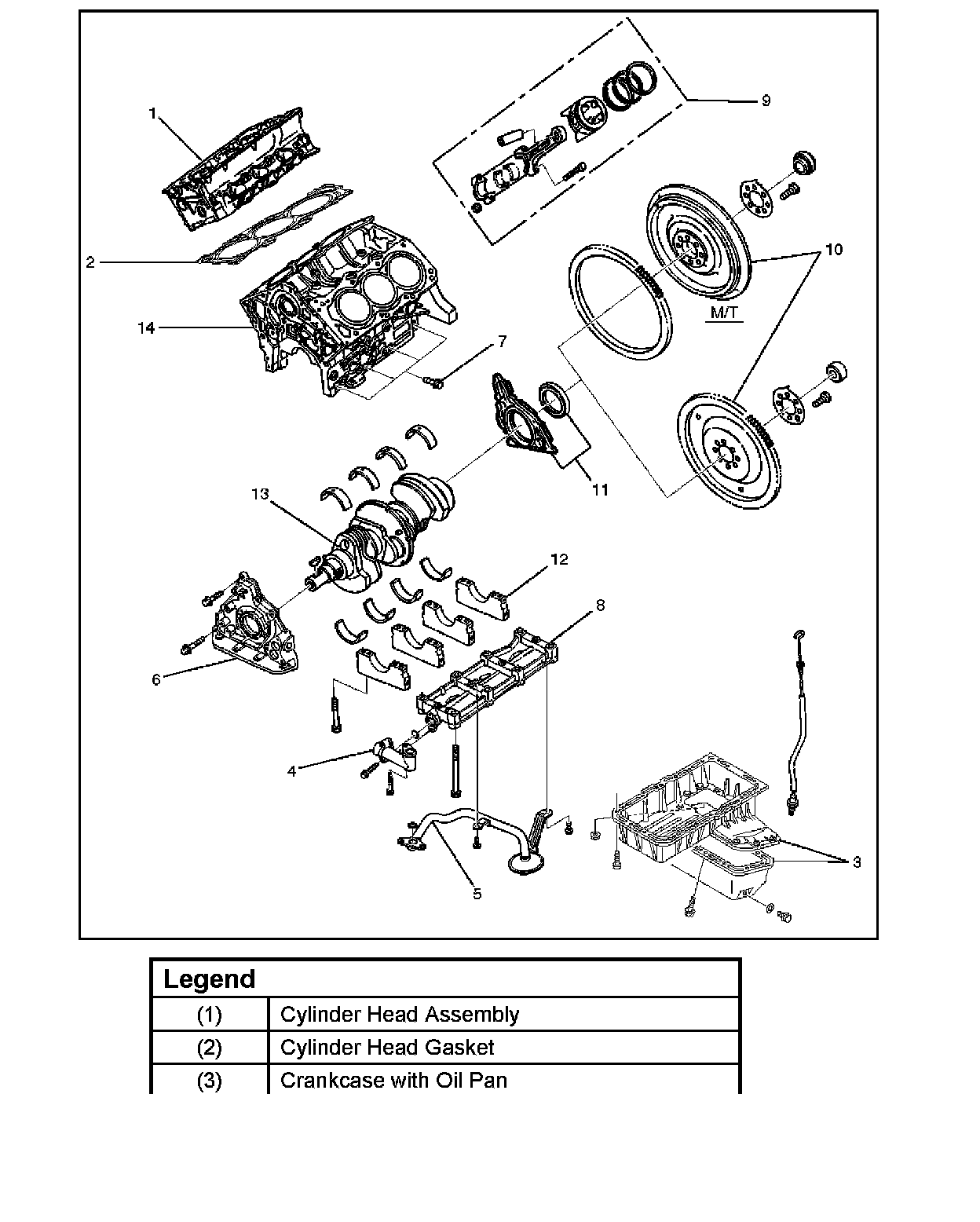
Cylinder Block

Cylinder Block








Cylinder Block and Associated Parts

Disassembly
1. Remove cylinder head assembly.
2. Remove cylinder head gasket.
3. Remove crankcase with oil pan.
4. Remove oil pipe and O-ring.
5. Remove oil strainer and O-ring.
6. Remove oil pump assembly.
7. Remove crankcase side bolts.
8. Remove oil gallery.
9. Remove piston and connecting rod assembly.
10. Remove flywheel.
11. Remove rear oil seal retainer assembly.
12. Remove main bearing cap.
13. Remove crankshaft.
14. Remove cylinder block.

Inspection and Repair
1. Remove the cylinder head gasket and any other material adhering to the upper surface of the cylinder block. Be very careful not to allow any material to accidentally drop into the cylinder block. Be very careful not to scratch the cylinder block.
2. Carefully remove the oil pump, rear oil seal retainer, and crankcase assembly installation surface seal.
3. Wipe the cylinder block clean.
4. Visually inspect the cylinder block. If necessary, use a flaw detector to perform a dye penetrate and hydraulic (or air pressure) test. If cracking or other damage is discovered, the cylinder block must either be repaired or replaced.

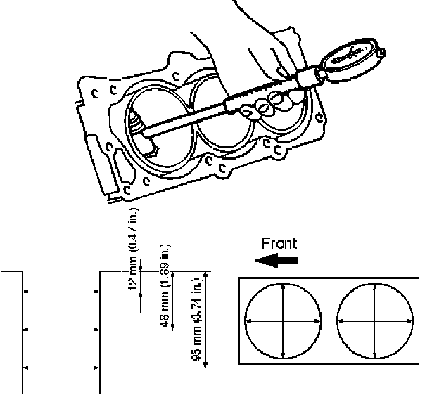
Flatness
1. Using a straight-edge and feeler gauge, check that the upper surface of the cylinder block is not warped.

Caution: Be very careful not to allow any material to accidentally drop into the upper surface of the cylinder block. Be very careful not to scratch the upper surface of the cylinder block.





2. The cylinder block must be reground or replaced if the warpage exceeds the limit.
Warpage
Limit: 0.15 mm (0.0059 inch)
Maximum repairable limit: 0.15 mm (0.0059 inch)

Cylinder Bore





Use a cylinder gauge to measure the cylinder bore diameter in both the axial and thrust directions. Each measurement should be made at six points.

Caution: Be very careful not to allow any material to accidentally drop into the upper surface al the cylinder block. Be very careful not to scratch the upper surface of the cylinder block.

Cylinder Bore Inside Diameter
Limit: 93.530 (3.6823)

If the measurement exceed the specified limit, the cylinder block must be replaced.
Diameter
Grade A: 93.400 mm - 93.410 mm (3.6772 inch - 3.6776 inch)
Grade B: 93.411 mm - 93.420 mm (3.6776 inch - 3.6779 inch)
Grade C: 93.421 mm - 93.430 mm (3.6780 inch - 3.6783 inch)

Note: For information on piston diameter, please refer to Inspection and Repair for the Piston and Connecting Rod.





^ The "Grade" mark (1) is stamped at the position illustrated.

Reassembly
1. Install cylinder block.





2. Install crankshaft.
^ Install the main bearings to the cylinder block and the main bearing caps.
^ Be sure that they are positioned correctly.
^ Apply new engine oil to the upper and lower main bearing faces.

Note: Do not apply engine oil to the bearing back faces.





^ Carefully mount the crankshaft.
^ Apply engine oil to the thrust washer.
^/ Assemble the thrust washer to the No. 3 bearing journal. The oil grooves must face the crankshaft.





3. Install rear oil seal retainer.
^ Remove oil on cylinder block and retainer fitting surface.
^ Apply sealant (TB1 207B or equivalent) to retainer fitting surface as shown in illustration.
^ The oil seal retainer must be installed within 5 minutes after sealant application to prevent premature hardening of sealant.





^ Apply engine oil to oil seal lip and align a dowel pin hole in the cylinder block with that in the retainer.
^ Tighten retainer fixing bolts to the specified torque.
Torque: 25 Nm (18.4 ft. lbs.)





4. Install flywheel
1. Thoroughly clean and remove the oil from the threads of crankshaft.
2. Remove the oil from the crankshaft and flywheel mounting faces.
3. Mount the flywheel on the crankshaft and then install the washer.
4. Holding the crankshaft stationary, tighten the flywheel bolts in the order shown.
Torque: 54 Nm (40 ft. lbs.)

Note: Do not reuse the bolts and do not apply oil or thread lock to the bolts.





5. Install piston and connecting rod assembly.
^ Apply engine oil to the cylinder bores, the connecting rod bearings and the crankshaft pins.

Note: Do not apply engine oil to the bearing back faces.

^ Check to see that the piston ring end gaps are correctly positioned.





^ Insert the piston/connecting rod assemblies into each cylinder with the piston ring compressor.
^ The front marks (1) must be facing the front of the engine.





6. Install oil gallery and tighten the bolts in 2 steps in the order shown.
1st step: 29 Nm (22 ft. lbs.)
2nd step: 55° ~ 65°





7. Install cylinder block side bolts (1) and tighten crankcase bolts in sequence shown in the illustration.
Torque: 39 Nm (29 ft. lbs.)
8. Install oil pump assembly.
9. Install oil strainer and O-ring.
10. Install oil pipe and O-ring.





11. Install crankcase with oil pan.
1. Completely remove all residual sealant, lubricant and moisture from the sealing surfaces. The surfaces must be perfectly dry.
2. Apply a correct width bead of sealant (TB-1207C or its equivalent) to the contact surfaces of the crankcase. There must be no gaps in the bead.
3. The oil pan must be installed within 5 minutes after sealant application to prevent premature hardening of sealant.
4. Tighten the bolts and nuts to the specified torque.
Torque: 10 Nm (87 inch lbs.)
12. Install cylinder head gasket.
13. Install cylinder head assembly.