Operation CHARM: Car repair manuals for everyone.
Manuals through 2025 now available!

Our trusted friends have launched a new website named LEMON, which has newer manuals. It also contains all the CHARM manuals.

LEMON is the spiritual successor to CHARM, I recommend you try it!

Link: lemon-manuals.la or lemon-manuals.org.ua

(Some people have issue connecting. LEMON is investigating. For now, use Firefox or change your DNS server)

Or, hide this message: temporarily or permanently

Radiator: Service and Repair

Radiator





Radiator and Associated Parts

Removal
1. Disconnect battery ground cable.
2. Loosen a drain plug (2) to drain EC.
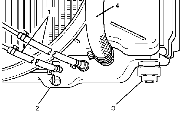
3. Disconnect oil cooler hose (1) on automatic transmission (A/T).





4. Disconnect radiator inlet hose and outlet hose from the engine.





5. Remove fan guide (1), clips (3) on both sides and the bottom lock, then remove fan guide lower (3) with fan shroud (4).





6. Disconnect the reserve tank hose (4) from radiator.
7. Lift up and remove the radiator assembly with hose, taking care not to damage the radiator core with a fan blade.
8. Remove rubber cushions on both sides at the bottom.

Inspection
Radiator Cap
Measure the valve opening pressure of the pressurizing valve with a radiator filler cap tester.
Replace the cap if the valve opening pressure is outside the standard range.
Valve opening pressure kPa (psi) 93.3 ~ 122.7 (13.5 ~ 17.8)
Cap tester: J-24460-01
Adapter: J-33984-A





Check the condition of the vacuum valve in the center of the valve seat side of the cap. If considerable rust or dirt is found, or if the valve seat cannot be moved by hand, clean or replace the cap.
Valve opening vacuum kPa (psi) 0 ~ 6.9 (0 ~ 1.0)

Radiator Core
1. A bent fin may result in reduced ventilation and overheating may occur. All bent fins must be straightened. Pay close attention to the base of the fin when it is being straightened.
2. Remove all dust, bugs and other foreign material.

Flushing the Radiator
Thoroughly wash the inside of the radiator and the engine coolant passages with cold water and mild detergent. Remove all signs of scale and rust.

Cooling System Leakage Check





Use a radiator cap tester to force air into the radiator through the filler neck at the specified pressure of 150 kPa (22 psi) with a cap tester:
^ Leakage from the radiator
^ Leakage from the coolant pump
^ Leakage from the water hoses
^ Check the rubber hoses for swelling.
Cap tester: J-24460-01
Adapter: J-33984-A

Installation
1. Install rubber cushions on both sides of radiator bottom.
2. Install radiator assembly with hose, taking care not to damage the radiator core with a fan blade.
3. Connect reserve tank hose (4).
4. Install lower fan guide (3).
5. Connect radiator inlet hose and outlet hose to the engine.





6. Connect oil cooler hose (1) to automatic transmission.
7. Connect battery ground cable.





8. Pour engine coolant up to filler neck of radiator, and up to MAX mark of reserve tank.
Important operation (in case of 100% engine coolant change procedure for filling with engine coolant.

Engine Coolant Filling Up Procedure
1. Make sure that the engine is cool.

WARNING: WHEN THE COOLANT IS HEATED TO A HIGH TEMPERATURE, BE SURE NOT TO LOOSEN OR REMOVE THE RADIATOR CAP. OTHERWISE YOU MIGHT GET SCALDED BY HOT VAPOR OR BOILING WATER. TO OPEN THE RADIATOR CAP, PUT A PIECE OF THICK CLOTH ON THE CAP AND LOOSEN THE CAP SLOWLY TO REDUCE THE PRESSURE WHEN THE COOLANT HAS BECOME COOLER.

2. Open radiator cap pour coolant up to filler neck.
3. Pour coolant into reservoir tank up to "MAX" line.
4. Tighten radiator cap and start the engine. After idling for 2 to 3 minutes, stop the engine and reopen radiator cap. If the water level is lower, replenish.
5. After replenish the coolant, tighten the radiator cap, warm up the engine at about 2000 rpm. Set heater adjustment to the highest temperature position, and let the coolant circulate also into heater water system.
6. Check to see the thermometer, continuously idling 5 minutes and stop the engine.
7. When the engine has been cooled, check filler neck for water level and replenish if required. Should extreme shortage of coolant is found, check the coolant system and reservoir tank hose for leakage.
8. Pour coolant into the reservoir tank up to "MAX" line.