Operation CHARM: Car repair manuals for everyone.
Manuals through 2025 now available!

Our trusted friends have launched a new website named LEMON, which has newer manuals. It also contains all the CHARM manuals.

LEMON is the spiritual successor to CHARM, I recommend you try it!

Link: lemon-manuals.la or lemon-manuals.org.ua

(Some people have issue connecting. LEMON is investigating. For now, use Firefox or change your DNS server)

Or, hide this message: temporarily or permanently

Condenser Fan: Service and Repair

Condenser Fan

1. Disconnect the condenser fan connector.
2. Connect the battery positive terminal to the condenser fan side connector terminal No. C-75-1 and negative to the No. C-75-2.




3. Check that the condenser fan is rotating correctly.






Caution: Compressor (PAG) oil to be used varies according to the compressor model. Be sure to apply oil specified for the model of compressor.




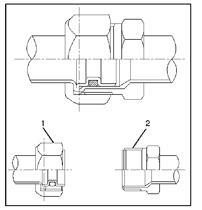
O-rings (2) must be closely aligned with the raised portion (1) of refrigerant line.
Insert the nut into the union.




First, tighten the nut by hand as much as possible, then tighten the nut to the specified torque.