Operation CHARM: Car repair manuals for everyone.
Manuals through 2025 now available!

Our trusted friends have launched a new website named LEMON, which has newer manuals. It also contains all the CHARM manuals.

LEMON is the spiritual successor to CHARM, I recommend you try it!

Link: lemon-manuals.la or lemon-manuals.org.ua

(Some people have issue connecting. LEMON is investigating. For now, use Firefox or change your DNS server)

Or, hide this message: temporarily or permanently

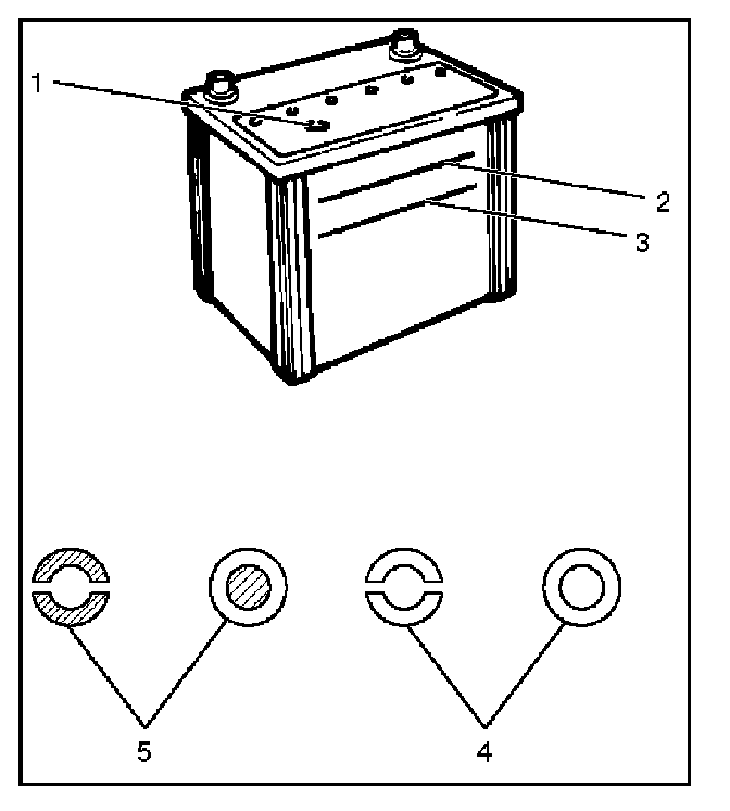
2. Hydrometer Check




There is a built-in hydrometer (Charge test indicator (1)) at the top of the battery. It is designed to be used during diagnostic procedures.

Before trying to read the hydrometer, carefully clean the upper battery surface.

If your work area is poorly lit, additional light may be necessary to read the hydrometer.
a. BLUE RING OR DOT VISIBLE (5) - Go to Step 4.
b. BLUE RING OR DOT NOT VISIBLE (4) - Go to Step 3.