Operation CHARM: Car repair manuals for everyone.
Manuals through 2025 now available!

Our trusted friends have launched a new website named LEMON, which has newer manuals. It also contains all the CHARM manuals.

LEMON is the spiritual successor to CHARM, I recommend you try it!

Link: lemon-manuals.la or lemon-manuals.org.ua

(Some people have issue connecting. LEMON is investigating. For now, use Firefox or change your DNS server)

Or, hide this message: temporarily or permanently

Steering Column: Service and Repair









Removal
1. Turn the steering wheel so that the vehicle's wheels are pointing straight ahead.
2. Turn the ignition switch to "LOCK".
3. Disconnect the battery "-" terminal cable, and wait at least 5 minutes.
4. Disconnect the yellow 2-way SRS connector located under the steering column.

Caution: The wheel of the vehicle must be straight ahead and the steering column in the "LOCK" position before disconnecting the steering column from the steering gear. Failure to do so will cause the SRS coil assembly to become uncentered which will cause damage to the SRS coil assembly.

5. Disconnect the transmission (for M/T) and transfer control lever knob.
6. Disconnect the wiring harness connectors.
7. Remove front console assembly.
8. Remove lower cluster assembly.
9. Remove the engine hood opening lever, then remove steering lower cover.
10. Remove driver knee bolster (reinforcement).





11. Loosen the inflator module fixing bolt from behind the steering wheel assembly using a TORX driver or equivalent until the inflator module can be released from steering assembly.
12. Disconnect the yellow 2-way SRS connector located behind the inflator module.





13. Remove inflator module.

Warning: THE INFLATOR MODULE SHOULD ALWAYS BE CARRIED WITH THE URETHANE COVER AWAY FROM YOUR BODY AND SHOULD ALWAYS BE LAID ON A FLAT SURFACE WITH THE URETHANE SIDE UP. THIS IS NECESSARY BECAUSE A FREE SPACE IS PROVIDED TO ALLOW THE AIR CUSHION TO EXPAND IN THE UNLIKELY EVENT OF ACCIDENTAL DEPLOYMENT. OTHERWISE, PERSONAL INJURY MAY RESULT.








14. Apply a setting mark (1) across the steering wheel and shaft so parts can be reassembled in their original position. Move the front wheels to the straight ahead position, then use steering wheel remover J-29752 to remove the steering wheel.
15. Remove steering column cover.
16. Disconnect the wiring harness connectors located under the steering column.





17. Remove the combination switch assembly with SRS coil.

Note: SRS coil is a part of combination switch assembly, which can not be replaced singly. Therefore, be sure not to remove the SRS coil from the combination switch assembly.

18. Remove snap ring.
19. Remove cushion rubber.
20. Remove shift lock cable (For A/T).
21. Disconnect the starter switch harness connector located under the steering column, then remove lock cylinder assembly.





22. Apply a setting mark (1) across the universal joint and steering shaft to reassemble the parts in their original position, then remove steering column assembly.

Note: A setting mark can be easily made if the shaft is withdrawn a riffle by loosening the steering shaft universal joint

Inspection
If the abnormal conditions are found through inspection, replace the steering column assembly.

Column Capsule





Check capsules on steering column bracket assembly; all must be securely seated in bracket slots and checked for any loose conditions when pushed or pulled by hand.





Check clearance between capsule and bracket. It must be within 1 mm (0.039 inch).

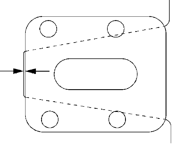
Column Tube





Check for collapse by measuring the distance as shown in the figure.
Standard distance: 162.2 - 165.8 mm (6.386 - 6.528 inch)

Column Universal Joint for Tilt Mechanism
If the resistance is felt when checked by rotate the joint, replace the steering column assembly.

Sheared Injected Plastic Pin





Check the sheared injected plastic pins for any loose conditions or damage.

Shaft Length





Check the shaft length from the upper end of the slide joint to the end of the shaft. If column length is not in specifications, steering column should be replaced.
Standard length: 308 - 310 mm (12.126 - 12.205 inch)

Shaft Universal Joint (Lower End)
If the resistance is felt when checked by rotate the joint, replace the steering column assembly.

Shaft Bellows Pipe





Check the shaft bellows pipe for bend by using straight edge. Measure the clearance between the bellows pipe and the straight edge (at center of the bellows pipe).
Standard: Less than 1 mm (0.039 inch)

Tilt Mechanism
Tilt mechanism should move smoothly.
While locked the tilt mechanism, be sure the steering column latch securely, by pushing the steering wheel upward and downward.

Installation
1. Install steering column assembly.
2. Align the setting marks on the universal joint and steering shaft made during removal.
3. Tighten the steering column fixing bolt (dash panel) to the specified torque.
Torque: 19 Nm (14 ft. lbs.)
4. Tighten the steering column fixing bolt (pedal bracket) to the specified torque.
Torque: 17 Nm (13 ft. lbs.)
5. Tighten the universal joint to the specified torque.
Torque: 25 Nm (18 ft. lbs.)
6. Install lock cylinder assembly.
7. Install shift lock cable (For A/T).
8. Install cushion rubber.
9. Install snap ring.
10. Install Combination switch and SRS coil assembly. After installation of combination switch assembly, connect the combination switch wiring harness connector and the SRS 2-way connector located under the steering column.





11. Turn the SRS coil counterclockwise to full, return about 3 turns and align the neutral mark.

Caution: When turning the SRS coil counterclockwise to full, stop turning it resistance is felt forced further turning may damage to the cable in the SRS coil.








12. When installing the steering column cover, be sure to route each wire harness as illustrated so that the harnesses do not catch any moving parts.
13. Install steering wheel and align the setting marks made when removing.

Caution: Never apply force to the steering wheel in direction shaft by using a hammer or other impact tools in an attempt to remove the steering wheel. The steering shaft is designed as an energy absorbing unit

14. Tighten the steering wheel fixing nut to the specified torque.
Torque: 34 Nm (25 ft. lbs.)
15. Support the module and carefully connect the module connector then install inflator module.

Caution:
^ Never use the air bag assembly from another vehicle. Use only the air bag assembly for "UX".
^ The driver's air bag assembly (Inflator module) for 1999 model has different characteristic to the parts for 1998 model. When replace the driver's air bag assembly, confirm the parts number and use only the parts for 1999 model. (The driver's air bag assembly for 1999 model has "yellow" bar codes label. 1998 model has "white" bar codes label.)

Note: Pass the lead wire through the tabs on the plastic cover (wire protector) of inflator to prevent lead wire from being pinched.

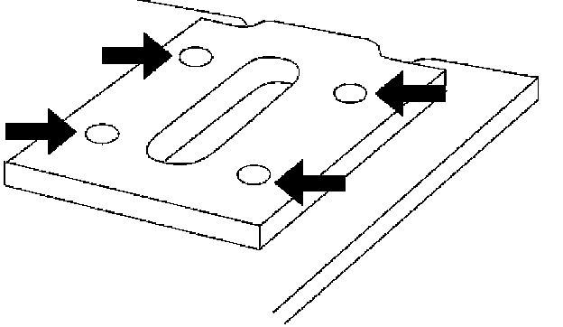
16. Secure the module with one bolt to relieve weight on the wire connector.





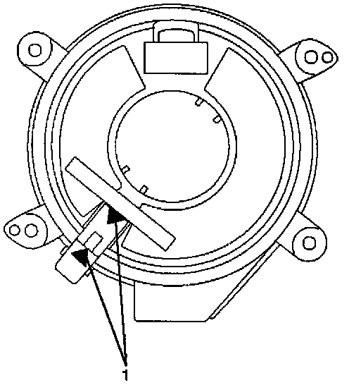
17. Tighten bolts to specified sequence as illustrated.
Torque: 8 Nm (69 inch lbs.)
18. Install driver knee bolster (reinforcement).
19. Install steering lower cover.
20. Install the engine hood opening lever.
21. Install lower cluster assembly.
22. Connect the wiring harness connectors then install front console assembly.
23. Install the transmission (for M/T) and transfer control lever knob.
24. Connect the yellow 2-way SRS connector located under the steering column.
25. Connect the battery "-" terminal cable.