Operation CHARM: Car repair manuals for everyone.
Manuals through 2025 now available!

Our trusted friends have launched a new website named LEMON, which has newer manuals. It also contains all the CHARM manuals.

LEMON is the spiritual successor to CHARM, I recommend you try it!

Link: lemon-manuals.la or lemon-manuals.org.ua

(Some people have issue connecting. LEMON is investigating. For now, use Firefox or change your DNS server)

Or, hide this message: temporarily or permanently

Catalytic Converter: Service and Repair

Catalytic Converter Replacement (5.3L Engine)

Removal Procedure
1. Remove the transmission support.
2. Remove the rear propeller shaft.
3. If equipped with four wheel drive (4WD), unbolt the front propeller shaft from the drive axle.
4. Place the propeller shaft on top of the pinion yoke.







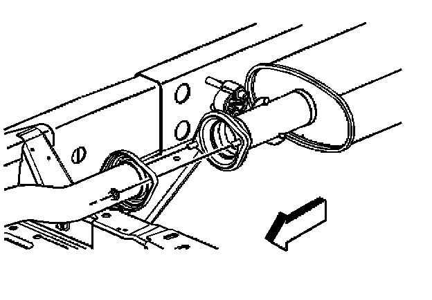
5. Unscrew both front heated oxygen sensor (HO2S) sensors (1) from the catalytic converter.
6. Unscrew the left rear HO2S (2) from the catalytic converter.







7. Remove the left exhaust manifold pipe nuts.







8. Remove the right exhaust manifold pipe nuts.







9. Remove the exhaust muffler nuts.







10. Raise the transmission.
11. Remove the catalytic converter (1).
12. Remove the right rear HO2S sensor if the catalytic converter is to be replaced.








Installation Procedure
1. If the catalytic converter was replaced, perform the following:
1.1. Apply anti-seize compound GM P/N 12377953 or equivalent to the threads of the old sensors.


1.2. Install the right rear HO2S sensor.

Tighten the sensor to ........................42 Nm (31 ft. lbs.).

2. Install the catalytic converter (1).







3. Install the exhaust muffler nuts.

Tighten the nuts to ..................................45 Nm (33 ft. lbs.).







4. Install the right exhaust manifold pipe nuts.

Tighten the nuts to ..............................50 Nm (37 ft. lbs.).







5. Install the left exhaust manifold pipe nuts.

Tighten the nuts to ..............................50 Nm (37 ft. lbs.).







6. Install the left rear HO2S (2) to the catalytic converter.
7. Install both front HO2S sensors (1) to the catalytic converter.
8. If equipped with 4WD, install the front propeller shaft to the drive axle.
9. Install the rear propeller shaft.
10. Lower the transmission.
11. Install the transmission support.