Operation CHARM: Car repair manuals for everyone.
Manuals through 2025 now available!

Our trusted friends have launched a new website named LEMON, which has newer manuals. It also contains all the CHARM manuals.

LEMON is the spiritual successor to CHARM, I recommend you try it!

Link: lemon-manuals.la or lemon-manuals.org.ua

(Some people have issue connecting. LEMON is investigating. For now, use Firefox or change your DNS server)

Or, hide this message: temporarily or permanently

Piston and Connecting Rod

Piston and Connecting Rod





Piston, Connecting Rod and Associate Parts

Disassembly
1. Remove cylinder head assembly (1).
2. Remove cylinder head gasket (2).
3. Remove crankcase with oil pan (3).
4. Remove oil pipe and O-ring (4).
5. Remove oil strainer and O-ring (5).
6. Remove oil gallery (6).
7. Remove connecting rod cap with connecting rod lower bearing (12).





8. Remove piston and connecting rod assembly (7).

Note: Before removing piston and connecting rod assembly, measure thrust clearance.

^ Remove any ridge or carbon build up from the top end of the cylinder.





9. Remove the piston rings (8) with a piston ring expander. Arrange the removed piston rings in the cylinder number order.





10. Remove the piston pin snap ring (14) using plier.

Note: Keep the parts removed from each cylinder separate. All parts must be reinstalled in their original positions and directions (Piston, Connecting Rod and Piston Ring).

11. Remove the piston pin (9).
12. Piston (10)
13. Connecting rod (11)





14. Remove connecting rod bushing using special tool J-46913 and bench press.

Note: Align the bushing with the connecting rod oil port.

15. After installing a new bushing, finish the bushing bore with a pin hole grinder.

Inspection and Repair
Pistons
Carefully clean away all the carbon adhering to the piston head and the piston ring grooves.

Note: Never use a wire brush to clean the pistons. Damage will result. Visually check each piston for cracking, scoring, and other signs of excessive wear. If any of the above conditions are found, the piston must be replaced.

Piston Diameter








1. Measure the piston outside diameter with micrometer at the piston grading position and a right angle to the piston pin.
Piston grading position (from piston skirt)
Piston grading position: 11 mm (0.433 inch)
The size mark (1) for piston outside diameter is represented as shown in Figure.
Outside Diameter
Size Mark A: 93.360 mm - 93.370 mm (3.6756 inch - 3.6760 inch)
Size Mark B: 93.371 mm - 93.380 mm (3.6760 inch - 3.6764 inch)
Size Mark C: 93.381 mm - 93.390 mm (3.6764 inch - 3.6768 inch)





Measure the cylinder bore inside diameter.

Piston Rings
Any worn or damaged part discovered during engine overhaul must be replaced with a new one.
1. Ring end gap measurement
^ Insert the piston ring into the bore.
^ Push the ring by the piston, at a right angle to the wall, into the point at which the cylinder bore diameter is the smallest.

Ring End Gap:








^ Measure the ring end gap.
^ The compression ring must set with direction of origin.





2. Measure the clearance between the piston ring groove and the piston ring with a feeler gauge. If the piston ring groove / piston ring clearance exceeds the specified limit, the
piston must be replaced.
1st, 2nd Compression Ring Clearance
Standard: 0.025 - 0.065 mm (0.0010 - 0.0026 inch)
Limit: 0.1 mm (0.0039 inch)
Oil Ring Clearance
Standard: 0.015 - 0.055 mm (0.0006- 0.0022 inch)
Limit: 0.1 mm (0.0039 inch)

Piston Pin
1. Use a micrometer to measure the new piston pin outside diameter in both directions at three different positions.





2. Measure the inside diameter of the connecting rod small end. If the small end does not conform to the specified value, the connecting rod bush must be replaced.
Standard: 21.958 - 21.965 mm (0.8645 - 0.8648 inch)
3. Insert the new pin into the piston and rotate it. If the pin rotates smoothly with no backlash, the clearance is normal. If there is backlash or roughness, measure the clearance. If the clearance exceeds the specified limit, the piston must be replaced.
Clearance
Standard: 0.010 - 0.019 mm (0.0004 inch - 0.0007 inch)
Limit: 0.040 mm (0.0007 inch)

Connecting Rods





1. Check the connecting rod alignment If either the bend or the twist exceeds the specified limit, the connecting rod must be replaced.
Bend per 100 mm (3.937 inch)
Limit: 0.05 (0.0020)
Twist per 100 mm (3.937 inch)
Limit: 0.15 (0.0059)





2. Measure the connecting rod thrust clearance. Use a feeler gauge to measure the thrust clearance at the large end of the connecting rod If the clearance exceeds the specified limit, the connecting rod must be replaced.
Standard: 0.16 mm - 0.35 mm (0.0063 inch - 0.0138 inch)
Limit: 0.40 mm (0.0157 inch)





3. Measure the oil clearance between the connecting rod and the crankshaft.
1. Remove the connecting rod cap nuts and the rod caps (12).
Arrange the removed rod caps in the cylinder number order.
2. Clean the rod bearings and the crankshaft pins.
3. Carefully check the rod bearings. If even one bearing is found to be damaged or badly worn, the entire bearing assembly must be replaced as a set. Reinstall the bearings in their original positions. Apply plastigage to the crank pin.
4. Reinstall the rod caps (12) to their original positions.
^ Tighten the rod cap nuts.
Torque: 54 Nm (39.8 ft. lbs.) with engine oil

Note: Do not allow the crankshaft to rotate.

5. Remove the rod caps.





6. Measure the width of the plastigage and determine the oil clearance. If the oil clearance exceeds the limit, replace the rod bearing as a set.
Standard: 0.025 - 0.058 mm (0.0010 - 0.0023 inch)
Limit: 0.08 mm (0.0031 inch)
7. Clean the plastigage from the bearings and the crankshaft pins.

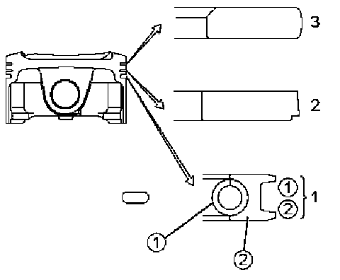
Con-rod Bearing Selection








Select and install the new connecting rod bearings, paying close attention to the connecting rod big end diameter size mark (1).

Note: Take care not to confuse the alignment mark (2) and the size mark (1) during the installation procedure.

Reassembly








1. Install connecting rod bushing using special tool J-46913 and bench press.

Note: Align the bushing with the connecting rod oil port. After installing a new bushing, finish the bushing bore with a pin hole grinder.

2. Install connecting rod
3. Install piston
4. Install piston pin
^ Apply a thin coat of engine oil to the piston pin. Try to insert the piston pin into the piston pin hole with normal finger pressure.

Note: When changing piston / connecting rod combinations, do not change the piston / piston pin combination and do not reuse the old piston pin.





^ Attach the piston to the connecting rod with the piston front mark and the connecting rod front mark on the same side.
5. Install the piston pin snap ring using plier.
6. Install piston ring with the piston ring expander.
The compression ring must be set with direction of origin.
^ Install piston rings in the following sequence.
1. Oil ring
1. Expander coil
2. Oil ring
2. 2nd compression ring
3. 1st compression ring
^ The compression rings must be set with direction of origin.





^ After installation, apply engine oil to the entire circumference of the piston rings. Check to see that all the rings rotate smoothly.
7. Install piston and connecting rod assembly.
^ Insert the bearings into the connecting rods and caps. Apply new engine oil to the bearing faces and nuts.
^ Tighten the connecting rod cap nuts
Torque: 54 Nm (39.8 ft. lbs.) with engine oil

Note: Do not apply engine oil to the bearing back faces.

8. Oil gallery.
9. Oil strainer and O-ring.
10. Oil pipe and O-ring.
11. Install crankcase with oil pan.
12. Install cylinder head gasket.
13. Install Cylinder head assembly.