Operation CHARM: Car repair manuals for everyone.
Manuals through 2025 now available!

Our trusted friends have launched a new website named LEMON, which has newer manuals. It also contains all the CHARM manuals.

LEMON is the spiritual successor to CHARM, I recommend you try it!

Link: lemon-manuals.la or lemon-manuals.org.ua

(Some people have issue connecting. LEMON is investigating. For now, use Firefox or change your DNS server)

Or, hide this message: temporarily or permanently

Valve Spring, Oil Controller, Valve, Valve Guide

Valve Spring, Oil Controller, Valve, Valve Guide








Valve Spring, Oil Controller, Valve, Valve Guide and Associated Parts

Disassembly
1. Remove camshaft bearing cap fixing bolts (1).
2. Remove camshaft assembly (intake).
3. Remove camshaft assembly (Exhaust side).
4. Remove shim (4) and tappet (5).





5. Use the J-8062 valve spring compressor and J-42898 valve spring compressor adapter to remove split collar.
6. Remove valve spring.
7. Remove valve.
8. Remove oil controller and spring lower seat.
9. Remove the valve guide using the J-42899 valve guide replacer.

Inspection and Repair
Valve Spring

Caution: Visually inspect the valve springs and replace them if damage or abnormal wear is evident.





1. Measure the free height of the springs. The springs must be replaced if the free height is below the specified limit.
Standard: 44.6 mm (1.756 inch)
Limit: 43.6 mm (1.717 inch)





2. Measure the valve spring squareness with a steel square and replace the valve springs if the measured value exceeds the specified limit.
Limit: 2 mm (0.079 inch)





3. Using a spring tester to compress the springs to the installed height, measure the compressed spring tension, and replace the springs if the measured tension is below the specified limit.
At installed height: 35.0 mm (1.38 inch)
Standard: 196 N (44 lb)
Limit: Less than 181 N (41 lb)

Valve Guide

Caution: Take care not to damage the valve seat contact surface, when removing carbon adhering to the valve head. Carefully inspect the valve stem for scratches or abnormal wear. If these conditions are present, the valve and the valve guide must be replaced as a set





1. Measure the valve stem diameter with a micrometer. If the valve stem diameter is less than the specified limit, the valve and the valve guide must be replaced as a set.
Diameter of Valve Stem
Intake
Standard: 5.977 mm - 5.959 mm (0.2353 inch - 0.2346 inch)
Limit: 5.90 mm (0.2323 inch)
Exhaust
Standard: 5.952 mm - 5.970 mm (0.2343 inch - 0.2350 inch)
Limit: 5.90 mm (0.2323 inch)

2. Measure the inside diameter of the valve guide with a micrometer. Subtract the measured outer diameter of the valve stem from the measured inner diameter of the valve guide. If the value exceeds the specified limit, the valve and the valve guide must be replaced as a set.
Inside Diameter of the Valve Guide
Inlet clearance
Standard: 0.023 mm - 0.056 mm (0.0009 inch - 0.0002 inch)
Limit: 0.20 mm (0.00787 inch)
Exhaust clearance
Standard: 0.030 mm - 0.063 mm (0.0012 inch - 0.0025 inch)
Limit: 0.20 mm (0.00787 inch)

Valve Guide Replacement





1. Using Valve guide replacer: J-42899, drive out the valve guide from the combustion chamber side.





2. Apply engine oil to the outside of the valve guide. Using valve guide replacer J-42899, drive in a new valve guide from the camshaft side, and check the valve guide height.
Valve guide upper end height: 13.0 mm (0.5118 inch)
(Measured from the cylinder head upper face.
3. Check the clearance. If the clearance is less than the specified value, ream the inside diameter of valve guide. Using a sharp 6 mm reamer, ream the valve guide to obtain the specified clearance.

Valve Seat





1. Measure the protrusion of the valve stem when a new valve is installed in the cylinder head. If the protrusion of the valve stem exceeds the limit, replace the valve seat insert or the cylinder head assembly.
Protrusion of valve stem
Intake
Standard: 39.32 mm (1.5480 inch)
Limit:39.47 mm (1.5539 inch)
Exhaust
Standard: 39.3 mm (1.5472 inch)
Limit: 39.45 mm (1.5531 inch)





2. Measure the valve seat contact width. Make the necessary corrections if the seat contact surface is damaged or rough or if the contact width wear exceeds the limit.
Valve seat contact width
Standard: 1.1 mm (0.0433 inch)
Limit: 1.7 mm (0.0669 inch)

Contact Surface Angle on Valve Seat on Valve
1. Measure contact surface angle on valve seat.





2. If the measured value exceeds the limit, replace valve, valve guide and valve seat as a set.
Valve contact surface angle: 45°

Valve Seat Insert Correction
1. Remove the carbon from the valve seat insert surface.





2. Use a valve cutter to minimize scratches and other rough areas. This will bring the contact width back to the standard value. Remove only the scratches and rough areas. Do not cut away too much. Take care not to cut away unblemished areas of the valve seat surface.
Valve seat angle degree: 90°
3. Apply abrasive compound to the valve seat insert surface.
4. Insert the valve into the valve guide.
5. Turn the valve while lapping it to fit the valve seat insert.
6. Check that the valve contact width is correct.





7. Check that the valve seat insert surface is in contact with the entire circumference of the valve.

Valve Seat Insert Replacement
1. Arc weld the rod at several points. Be careful not to damage the aluminum section.
2. Allow the rod to cool for a few minutes. This will cause the valve seat to shrink.





3. Strike the rod and pull it out.
4. Carefully clean the valve seat press-fit section on the cylinder head side.
5. Heat the press-fit section with steam or some other means to cause expansion. Cool the valve seat with dry ice or some other means.
6. Insert the press-fit section into the valve seat horizontally.
7. Standard fitting interference: 0.14 mm - 0.09 mm (0.0055 inch - 0.0035 inch)
8. After insertion, use a seat grinder to grind finish the seating face. Carefully note the seating angle, the contact width, and the depression.
9. Lap the valve and the seat.

Reassembly
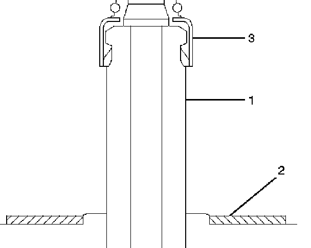
1. Install valve guide (1) to cylinder head. Apply engine oil to the outside of the valve guide. Using valve guide replacer J-42899, drive in a new valve guide from the camshaft side.





2. Install oil controller (3) and spring lower seat (2). Using oil controller replacer J-37281, drive in a new oil controller.
3. Install valve to valve guide. Before install valve guide apply engine oil to the outside of the valve stem.





4. Install valve spring to cylinder head. Attach the valve spring to the lower spring seat. The painted area of the valve spring should be facing downward.





5. Install lower valve spring seat, valve spring and upper valve spring seat then put split collars on the upper spring seat, using the J-8062 valve spring compressor and J-42898 valve spring compressor adapter to install the split collars.
6. Install tappet with shim.
7. Install camshaft assembly.