Operation CHARM: Car repair manuals for everyone.
Manuals through 2025 now available!

Our trusted friends have launched a new website named LEMON, which has newer manuals. It also contains all the CHARM manuals.

LEMON is the spiritual successor to CHARM, I recommend you try it!

Link: lemon-manuals.la or lemon-manuals.org.ua

(Some people have issue connecting. LEMON is investigating. For now, use Firefox or change your DNS server)

Or, hide this message: temporarily or permanently

Thread Repair Specifications



Thread Repair Specifications

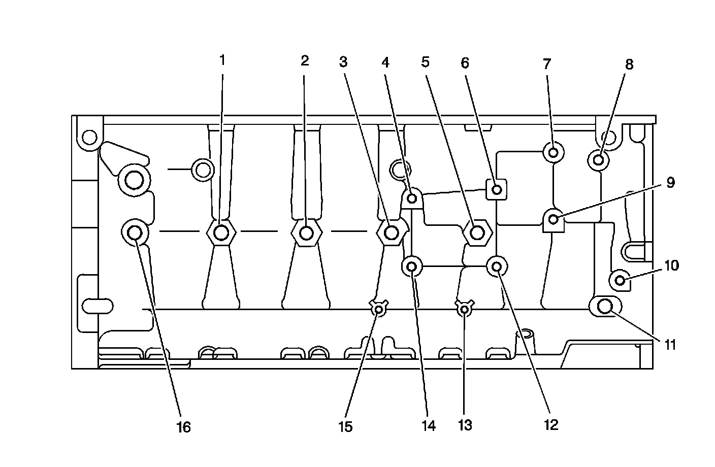
Engine Block - Top View

Engine Block:








Engine Block - Bottom View

Engine Block:








Engine Block - Left Side View

Engine Block:








Engine Block - Right Side View

Engine Block:








Engine Block - Front View

Engine Block:








Engine Block - Rear View

Engine Block:








Cylinder Head - Top View

Cylinder Head:








Cylinder Head - End View (Front)

Cylinder Head:








Cylinder Head - End View (Rear)

Cylinder Head:








Cylinder Head - Intake Manifold Deck View

Cylinder Head:








Cylinder Head - Exhaust Manifold Deck View

Cylinder Head:








Oil Pan - Top View

Oil Pan:








Oil Pan - Left Side View

Oil Pan:








Oil Pan - Right Side View

Oil Pan:








Oil Pan - Rear View

Oil Pan:








Engine Front Cover

Engine Front Cover:








Crankshaft Rear Oil Seal Housing

Crankshaft Rear Oil Seal Housing: