Operation CHARM: Car repair manuals for everyone.
Manuals through 2025 now available!

Our trusted friends have launched a new website named LEMON, which has newer manuals. It also contains all the CHARM manuals.

LEMON is the spiritual successor to CHARM, I recommend you try it!

Link: lemon-manuals.la or lemon-manuals.org.ua

(Some people have issue connecting. LEMON is investigating. For now, use Firefox or change your DNS server)

Or, hide this message: temporarily or permanently

Radiator Cooling Fan Motor Relay: Service and Repair



Cooling Fan Relay Replacement

Tools Required

J 43244 Relay Puller Pliers

Removal Procedure




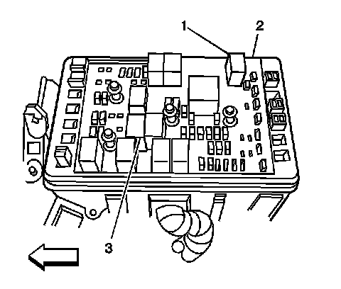
1. Remove the underhood electrical center cover.
2. Using the J 43244, remove the cooling fan relay (3).

Installation Procedure

Notice: Installation of the proper relay is critical. If an enhanced relay - equipped with a diode - is installed into a position requiring a standard relay - equipped without a diode - excessive current will damage any components associated with the relay or its associated circuits.




1. Install the cooling fan relay (3).
2. Install the underhood electrical center cover.