Operation CHARM: Car repair manuals for everyone.
Manuals through 2025 now available!

Our trusted friends have launched a new website named LEMON, which has newer manuals. It also contains all the CHARM manuals.

LEMON is the spiritual successor to CHARM, I recommend you try it!

Link: lemon-manuals.la or lemon-manuals.org.ua

(Some people have issue connecting. LEMON is investigating. For now, use Firefox or change your DNS server)

Or, hide this message: temporarily or permanently

Replacement Procedure



BATTERY NEGATIVE CABLE REPLACEMENT

IMPORTANT:
- Always use replacement cables that are of the same type, diameter and length of the cables that are being replaced.
- Always route the replacement cable the same way as the original cable.

REMOVAL PROCEDURE
1. Disconnect the battery negative cable.




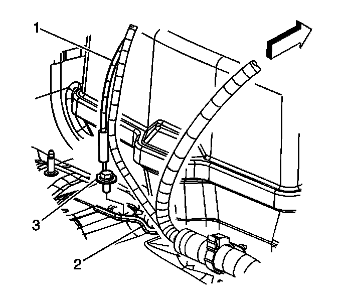
2. Remove the bolt (3) securing the battery negative cable (1) to the battery tray (2).




3. Open the battery cable harness retainer (4) at the battery tray (1).
4. Remove the battery negative cable from the upper portion of the battery cables harness conduit.
5. Raise and support the vehicle only high enough to access the remainder of the cable through the wheelhouse. Refer to Vehicle Lifting.
6. Remove the left wheelhouse liner.




7. Remove the bolt (4) securing the battery negative cable (3) to the engine block (1).
8. Open the battery cable harness retainer at the engine wiring harness bracket.
9. Remove the battery negative cable (3) from the battery cables harness conduit (2).

INSTALLATION PROCEDURE




1. Insert the battery negative cable (3) into the battery cables harness conduit (2).
2. Close the battery cable harness retainer at the engine wiring harness bracket.
3. Install the bolt (4) securing the battery negative cable (3) to the engine block (1).

Tighten the battery negative cable to engine block bolt to 35 N.m (26 lb ft).

NOTE: Refer to Fastener Notice in Service Precautions.

4. Install the left wheelhouse liner.
5. Lower the vehicle.




6. Insert the battery negative cable into the upper portion of the battery cables harness conduit.
7. Close the battery cable harness retainer (4) at the battery tray (1).




8. Install the bolt (3) securing the battery negative cable (1) to the battery tray (2).

Tighten the battery negative cable to battery tray bolt to 9 N.m (80 lb in).

9. Connect the battery negative cable.