Operation CHARM: Car repair manuals for everyone.
Manuals through 2025 now available!

Our trusted friends have launched a new website named LEMON, which has newer manuals. It also contains all the CHARM manuals.

LEMON is the spiritual successor to CHARM, I recommend you try it!

Link: lemon-manuals.la or lemon-manuals.org.ua

(Some people have issue connecting. LEMON is investigating. For now, use Firefox or change your DNS server)

Or, hide this message: temporarily or permanently

Wiper Gear Box: Service and Repair

Remove and Refit

1. Disconnect and remove the battery.
2. Remove the wiper arm and blades.
3. Remove the screen rail fascia.
4. Remove the wiper motor.
5. Remove the demister flap/actuator assembly.

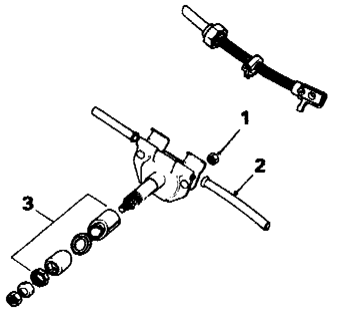
Wheel Boxes:






6. Remove the two nuts (1) retaining the wheelbox backplate and release the drive conduit (2).
7. Remove the nuts securing the wheelbox(es) to the scuttle and remove the chrome distance pieces and sealing rings (3).
8. Remove the wheelboxes.
9. Reverse the above procedure to refit.