Operation CHARM: Car repair manuals for everyone.
Manuals through 2025 now available!

Our trusted friends have launched a new website named LEMON, which has newer manuals. It also contains all the CHARM manuals.

LEMON is the spiritual successor to CHARM, I recommend you try it!

Link: lemon-manuals.la or lemon-manuals.org.ua

(Some people have issue connecting. LEMON is investigating. For now, use Firefox or change your DNS server)

Or, hide this message: temporarily or permanently

Rear Subframe Mount: Service and Repair



Rear Axle Crossmember Bushing (64.25.02)

Special Service Tools










Removal

CAUTION: Replacement of nuts and bolts: Various thread-locking devices are used on nuts and bolts throughout the vehicle. These devices restrict the number of times a nut or bolt can be used.

1. Remove suspension subframe from vehicle.
2. Position special tool 204-116 on the press-bed, with recesses uppermost.







3. Remove nut and washer from tool.
- Position tool on bush with recesses accommodating the bush rebound stops.
- Fit washer to tool and fit and finger tighten nut.







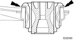
4. Invert subframe and position assembly on special tool 204-116, with subframe located in the recess.







5. CAUTION: Ensure special tool 204-116-06 is correctly aligned and does not contact the bush housing bore.

Remove bush from subframe.
1. Align the top of special tool 204-116-06 with the press-ram.
2. Operate press to remove bush.







6. Remove bush from special tool and discard bush.







7. Thoroughly clean the bush-housing bore.

Installation

1. Use a coarse grade emery cloth to roughen the bush-housing bore, and mating surface of the bush.
2. Using an air line, remove residual dust from bush and housing mating surfaces.
3. Clean the bush-housing bore and bush with cleaning solvent (SPB3 Solvent 30) or equivalent.
4. Invert suspension subframe.
5. Mark bush position on sub-frame.
1. Stretch a length of thin cord across the center line of each bush location.
2. Below the string, place two pieces of masking tape diametrically opposite on the bore periphery.
3. Mark string position on the masking tape.







6. NOTE: New bushes are bonded in position using a rapid drying adhesive Application of this adhesive and fitting of the bush must be completed within 3 minutes. It is therefore strongly recommended that the procedure is rehearsed to ensure it can be completed within that period.

Position subframe on a hydraulic-press.
- Position special tool 204-116-02 on press-bed, with recesses uppermost.
- Position subframe on top of tool.







7. Apply 'Alphabond Rapid 101' epoxy adhesive to the shaded area of the bush shown, and the corresponding area of the bush-housing bore.







8. CAUTION: A four-void type of bush is fitted to all vehicles with Comfort specification suspension. A three-void type of bush is fitted to XJR and vehicles with Sport specification suspension. To ensure satisfactory performance it is essential that the correct type of bush is installed and both types of bush are correctly positioned in the subframe.

Aligning four-void bush with subframe (Comfort suspension).
- Align centers of small voids with masking tape markers.







9. Aligning three-void bush with subframe (XJR and Sport suspension).
- Position bush with large single void facing forward.
- Align small void centers with masking tape markers.







10. Install bush in housing.
- Position a steel plate over the bush, ensuring the plate is large enough to cover the rubber flange.
- Operate the press to install the bush.







11. Ensure bush is fully seated in subframe.
- The clearance between the bush flange and subframe must not exceed 1.5 mm.







12. Ensure bush is aligned correctly in subframe as detailed in Step 8 or 9 as appropriate.
13. Wipe off all excess adhesive from subframe and bush, and remove masking tape.

14. NOTE: Allow adhesive at least 30 minutes to cure, before installing subframe on vehicle.

Install suspension subframe on vehicle.