Operation CHARM: Car repair manuals for everyone.
Manuals through 2025 now available!

Our trusted friends have launched a new website named LEMON, which has newer manuals. It also contains all the CHARM manuals.

LEMON is the spiritual successor to CHARM, I recommend you try it!

Link: lemon-manuals.la or lemon-manuals.org.ua

(Some people have issue connecting. LEMON is investigating. For now, use Firefox or change your DNS server)

Or, hide this message: temporarily or permanently

Repair Procedure

NUMBER S530
(Issue:3 )

DATE 31 MAR 2009

MODEL
XJ
S-Type
X-Type

THIS SERVICE ACTION EXPIRED 31 MARCH 2009

SECTION: 415

SERVICE ACTION: Navigation GPS Icon Drift





AFFECTED VEHICLE RANGE

CONDITION SUMMARY:

RF INTERFERENCE CAUSES ICON DRIFT SYMPTOMS

Situation:

On S-TYPE, X-TYPE and XJ vehicles fitted with navigation and (Compact Disc) CD auto changer, the navigation screen cursor may drift during navigation guidance. The symptoms include cursor intermittently wander from the route being traveled; the globe icon indicating no satellite reception may be seen on the NAV screen occasionally; the satellite reception lock is poor. The root cause has been identified as Radio Frequency (RF) interference from the CD auto changer unit affecting the Global Positioning System (GPS) signal received by the GPS antenna.

Action:

Dealers are requested to carry out the repair procedure as detailed in the Repair Procedure section of this bulletin. Unsold vehicles must be repaired prior to hand-over of the vehicle for retail sale. For those vehicles in the hands of the customer, you are requested to repair the vehicle at the first available opportunity.





PARTS








WARRANTY

REPAIR PROCEDURE

PERFORM NAVIGATION SYSTEM TEST

NOTE:
The Navigation system test must be performed outside and away from obstructing buildings.

1. Turn the ignition 'ON'.

2. Enter the vehicle Radio Code if requested.





3. Press and hold 'Phone' button and 'Menu' button together for approximately six seconds. (Figure 1)





4. The screen should change to 'Enter Diag PIN.....' (Figure 2)

5. The screen should change to the 'On -Screen Diagnostics'.





6. Press the 'Navigation Info' button. (Figure 3)

7. The 'Navigation Info' screen should be displayed.





8. Press the 'GPS Information' button. (Figure 4)

NOTE:
The example shows a 'Failed' vehicle. The vehicle would have to have the rework carried out.





9. Verify that the 'GPS Information' screen should be displayed. (Figure 5)





10. The Satellites are listed under 'St 1' to 'St 8.' (Figure 6)

11. Determine the average Satellite strength as follows:

^ Add all of the readings obtained for 'St 1' to 'St 8' Divide the total by 8.

12. If the 'Avg. SAT Lev' is equal to or below 15, the vehicle
has failed.

13. If the 'H-Dop' reading is equal to or greater than 4.0, the vehicle has failed.

14. If "failure" has occurred in the above examination, install screening tape to the CD changer as described below.

INSTALL SCREENING TAPE TO THE CD CHANGER

1. Refer to GTR section 415.01 and remove the compact disc (CD) changer from the vehicle.





2. Cut four of the tape kit strips to 75mm long. (Figure 7)

NOTE:
For the next four steps, smooth tape onto the CD changer with thumb to ensure good adhesion.

^ Ensure tape overlaps and is worked into the corners.





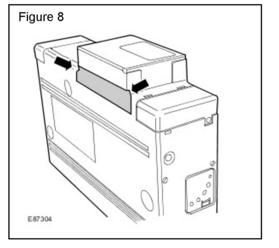
3. Apply one strip of 100mm long tape along the bottom edge of the CD changer. (Figure 8)

NOTE:
Smooth tape onto the CD changer with thumb to ensure good adhesion. Ensure tape overlaps and is worked into the corners.





4. Apply one strip of 100mm long tape along the top edge of the CD changer. (Figure 9)

NOTE:
Smooth tape onto the CD changer with thumb to ensure good adhesion. Ensure tape overlaps and is worked into the corners.





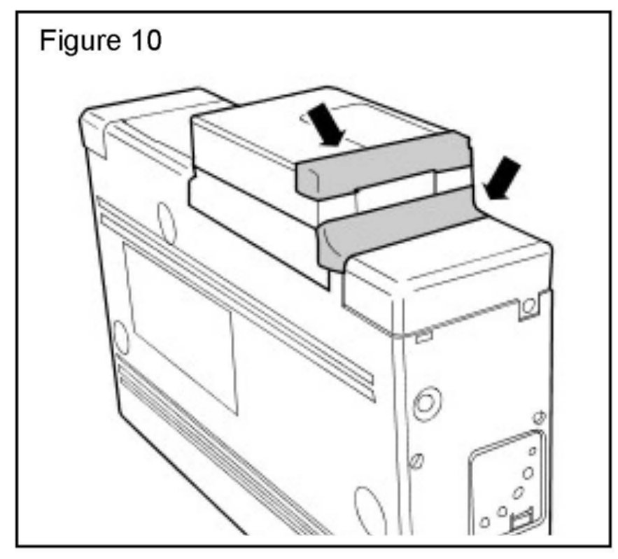
5. Apply strips of 75mm tape along the inside corner and outside edge of the CD changer. (Figure 10)

NOTE:
Smooth tape onto the CD changer with thumb to ensure good adhesion. Ensure tape overlaps and is worked into the corners.





6. Apply strips of 75mm tape along the inside corner and outside edge of the CD changer. (Figure 11)





7. The CD changer should have all open edges and corners covered by tape. (Figure 12)

8. Refer to GTR Workshop Manual section: 415-01 and install the compact disc (CD) changer.