Operation CHARM
: Car repair manuals for everyone.
Home
>>
Jaguar
>>
2007
>>
XJ (X350) V8-4.2L SC
>>
Repair and Diagnosis
>>
Diagrams
>>
Exploded Views
>>
Automatic Transmission/Transaxle
Manuals through 2025 now available!
Our trusted friends have launched a new website named LEMON, which has newer manuals. It also contains all the CHARM manuals.
LEMON is the spiritual successor to CHARM, I recommend you try it!
Link:
lemon-manuals.la
or
lemon-manuals.org.ua
(Some people have issue connecting. LEMON is investigating. For now, use Firefox or change your DNS server)
Or, hide this message:
temporarily
or
permanently
Automatic Transmission/Transaxle
J-Gate Range Selection
Torque converter
Gear Ratio
Single Planetary Gearset
Double Planetary Gearset
Shift Elements
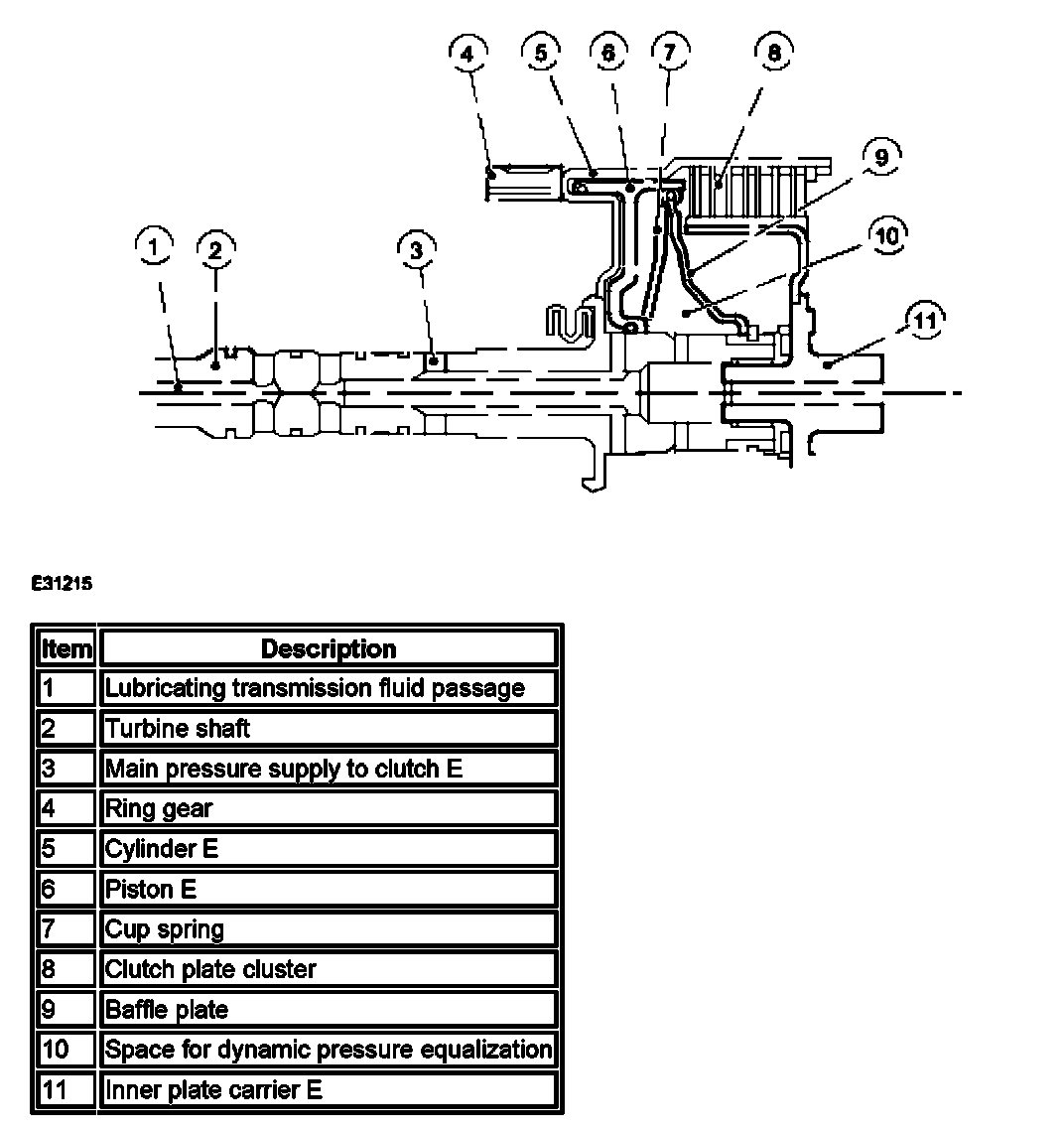
Multi Plate Clutch
Fluid Pump
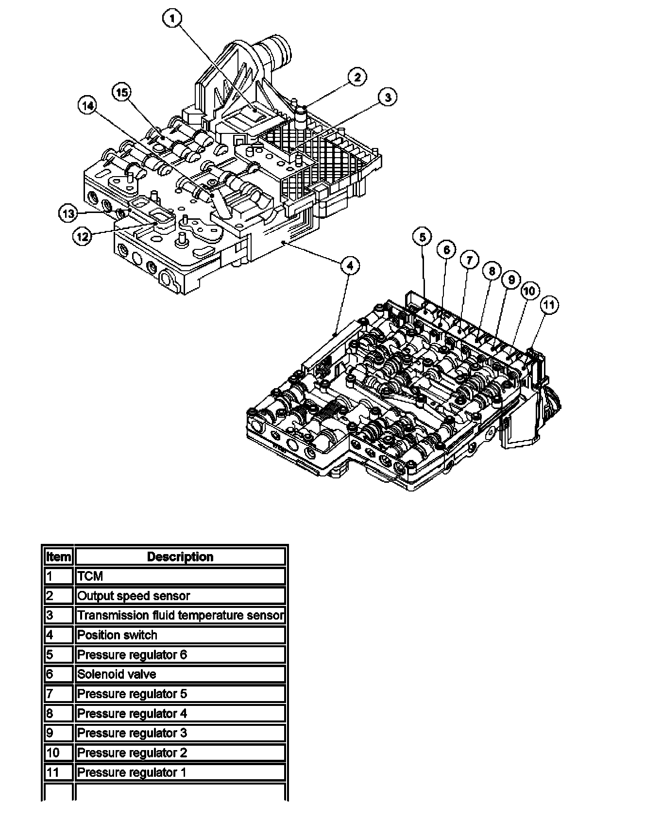
Transmission Control Module (TCM) and Main Control Valve Body