Operation CHARM: Car repair manuals for everyone.
Manuals through 2025 now available!

Our trusted friends have launched a new website named LEMON, which has newer manuals. It also contains all the CHARM manuals.

LEMON is the spiritual successor to CHARM, I recommend you try it!

Link: lemon-manuals.la or lemon-manuals.org.ua

(Some people have issue connecting. LEMON is investigating. For now, use Firefox or change your DNS server)

Or, hide this message: temporarily or permanently

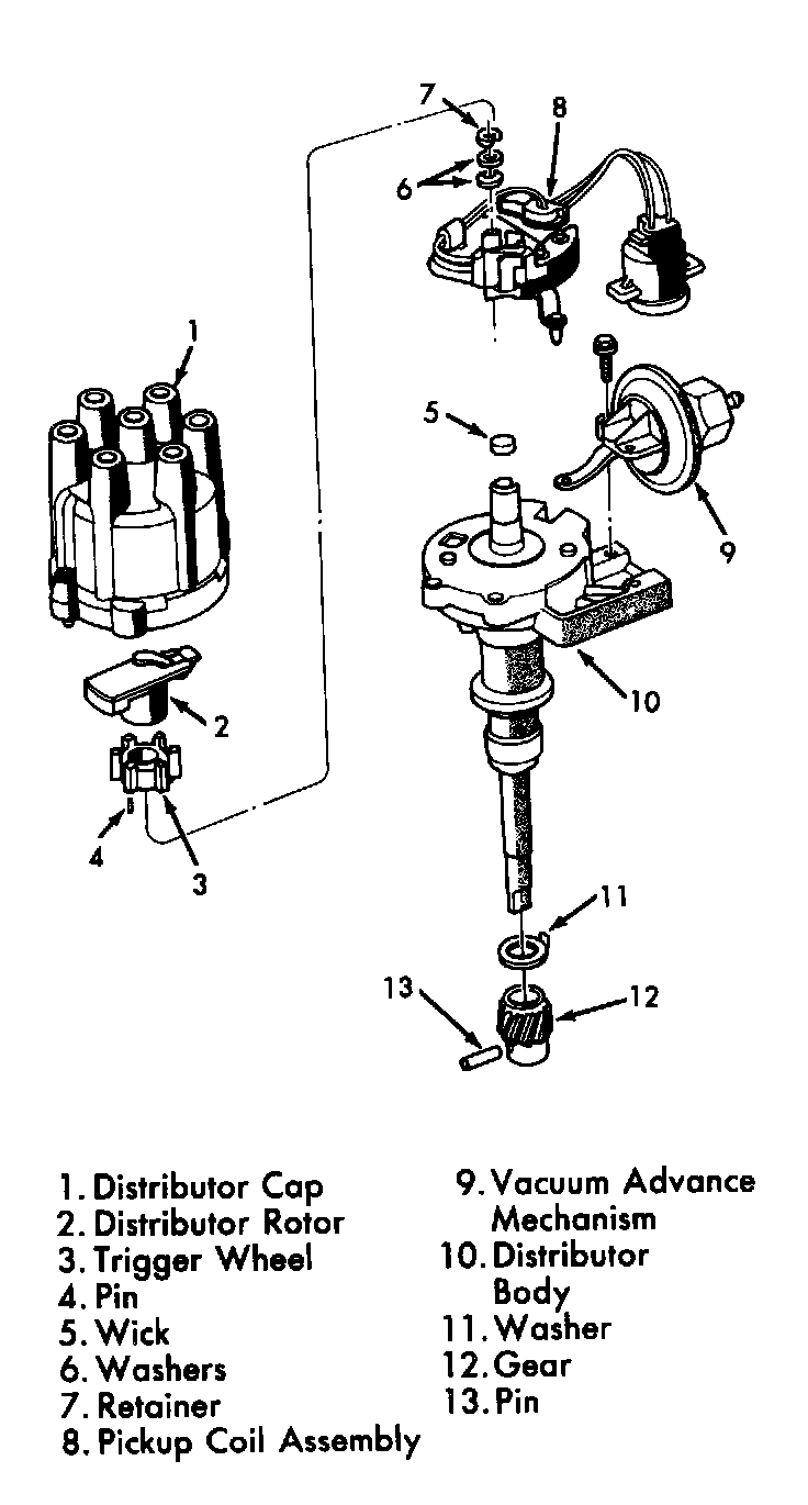
Distributor: Service and Repair






Removal

1. Place the distributor in a suitable holding device, if removed from the engine.
2. Remove the cap.
3. Remove the rotor.
4. Remove the trigger wheel with Trigger Wheel Puller Tool 7804, or equivalent. Use a flat washer to prevent the puller from contacting the inner shaft. By prying alternately, two screwdrivers can be used to remove the trigger wheel from the shaft. Remove the pin.
5. Remove the pickup coil retainer and washers from the pivot pin on the base plate.
6. Remove the two pickup coil plate screws.
7. Lift the pickup coil assembly from the distributor housing.
8. If the vacuum advance mechanism is to he replaced, remove the screws and lift the mechanism out of the distributor housing. Do not remove the vacuum advance mechanism unless replacement is required.


Installation

1. If the vacuum advance mechanism was removed, install it on the distributor housing with the attaching screws.

If a replacement vacuum advance mechanism is installed, refer to Vacuum Advance Mechanism for the calibration procedure.

2. Position the pickup coil assembly into the distributor housing.
3. Ensure the pin on the pickup coil assembly fits into the hole in the vacuum advance mechanism link.
4. Install the washers and retainer onto the pivot pin to secure the pickup coil assembly to the base plate.
5. Position the wiring harness in the slot in the distributor housing. Install the two pickup coil plate screws and tighten.
6. Install the trigger wheel on the shaft with hand pressure. The long portion of the teeth must be up. When the trigger wheel and slot in the shaft are properly aligned, use a suitable drift and small hammer to tap the pin into the locating groove in the trigger wheel and shaft.

If the distributor is not installed in the engine, support the shaft while installing the trigger wheel pin.

7. Install the rotor. Install the distributor cap.